EasyManua.ls Logo

Smeg UKC7280FP - Ventilation Requirements; Door Reversibility

Smeg UKC7280FP
36 pages
Print Icon
To Next Page IconTo Next Page
To Next Page IconTo Next Page
To Previous Page IconTo Previous Page
To Previous Page IconTo Previous Page
Loading...
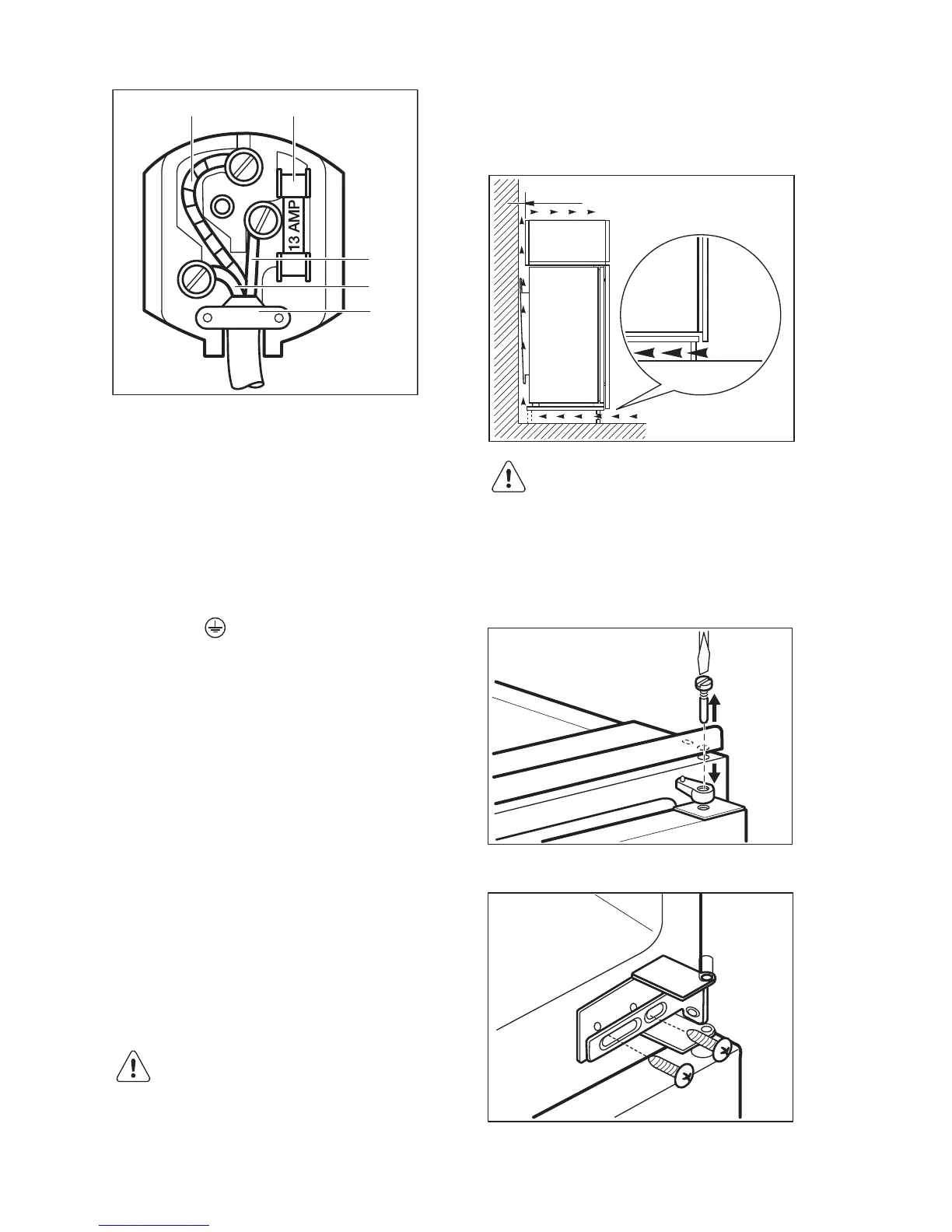
A B
C
D
E
A - green and yellow: Earth
C - brown: Live
D - blue: Neutral
As the colours of the wires in the mains
lead of this appliance may not correspond
with the coloured markings identifying the
terminals in your plug, proceed as follows:
1.
Connect the wire coloured green and
yellow to the terminal marked either
with the letter “E“ or by the earth
symbol
or coloured green and
yellow.
2. Connect the wire coloured blue to the
terminal either marked with the letter
“N“ or coloured black.
3. Connect the wire coloured brown to the
terminal either marked with the “L“ or
coloured red.
4. Check that no cut, or stray strands of
wire is present and the cord clamp (E) is
secure over the outer sheath.
Make sure the electricity supply voltage
is the same as that indicated on the
appliance rating plate.
5. Switch on the appliance.
The appliance is supplied with a 13 amp
fuse (B). In the event of having to change
the fuse in the plug supplied, a 13 amp
ASTA approved (BS 1362) fuse must be
used.
WARNING! A cut off plug
inserted into a 13 amp socket is
a serious safety (shock) hazard.
Ensure that it is disposed of
safely.
Ventilation requirements
The airflow behind the appliance must be
sufficient.
5 cm
min.
200 cm
2
min.
200 cm
2
CAUTION! Refer to the
assembly instructions for the
installation.
Door reversibility
1.
Loosen and remove the upper pin and
the spacer.
2. Remove the upper door.
3. Loosen the middle hinge.
4. Remove the door.
13

Related product manuals