EasyManua.ls Logo

Smeg UKC7280FP - Page 30

Smeg UKC7280FP
36 pages
Print Icon
To Next Page IconTo Next Page
To Next Page IconTo Next Page
To Previous Page IconTo Previous Page
To Previous Page IconTo Previous Page
Loading...
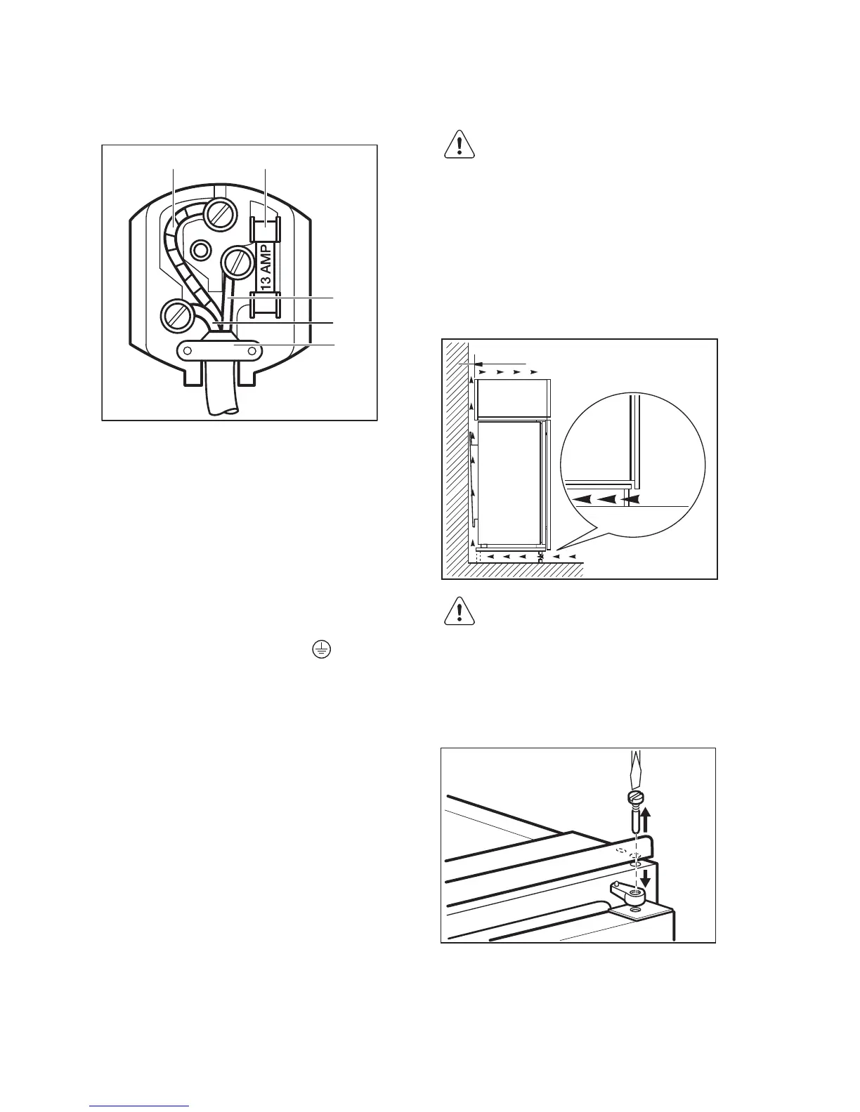
I fili del conduttore di rete sono
contrassegnati in base al codice di colore
seguente:
A B
C
D
E
A - verde e giallo: Terra
C - marrone: Sotto tensione
D - blu: Neutro
Visto che i colori nel filo di alimentazione di
questa apparecchiatura potrebbero non
corrispondere alle indicazioni colorate che
consentono di identificare i morsetti nella
presa consigliamo di procedere come
segue:
1. Collegare il filo di colore verde e giallo al
morsetto contrassegnato dalla lettera
"E" o dal simbolo di terra
o colorato
di verde e giallo.
2. Collegare il filo di colore blu al morsetto
contrassegnato dalla lettera "N" oppure
di colore nero.
3. Collegare il filo di colore marrone al
morsetto contrassegnato dalla lettera
"L" oppure di colore rosso.
4. Verificare che non vi siano interruzioni o
parti sporgenti di cavo e che il morsetto
di fili (E) sia fissato sulla guaina esterna.
Prima di accendere l'apparecchiatura,
assicurarsi che il voltaggio e la
frequenza corrispondano a quanto
indicato sulla targhetta dei dati.
5. Accendere l’apparecchiatura.
L'apparecchiatura è fornita di fusibile da 13
amp (B). Se occorre sostituire il fusibile nella
spina in dotazione, utilizzare un fusibile di
ricambio da 13 amp di tipo conforme alle
norme ASTA (BS 1362.)
ATTENZIONE! Se la spina
tagliata è inserita in una presa
da 13 amp, si corre il rischio di
forti scosse elettriche. Verificare
che venga smaltita in modo
sicuro.
Requisiti di ventilazione
Il flusso d'aria dietro l'apparecchiatura deve
essere sufficiente.
5 cm
min.
200 cm
2
min.
200 cm
2
AVVERTENZA! Consultare le
istruzioni di montaggio per
l'installazione.
Reversibilità della porta
1. Allentare e rimuovere il perno superiore
e il distanziale.
2. Rimuovere la porta superiore.
3. Allentare la cerniera centrale.
30

Related product manuals