EasyManua.ls Logo

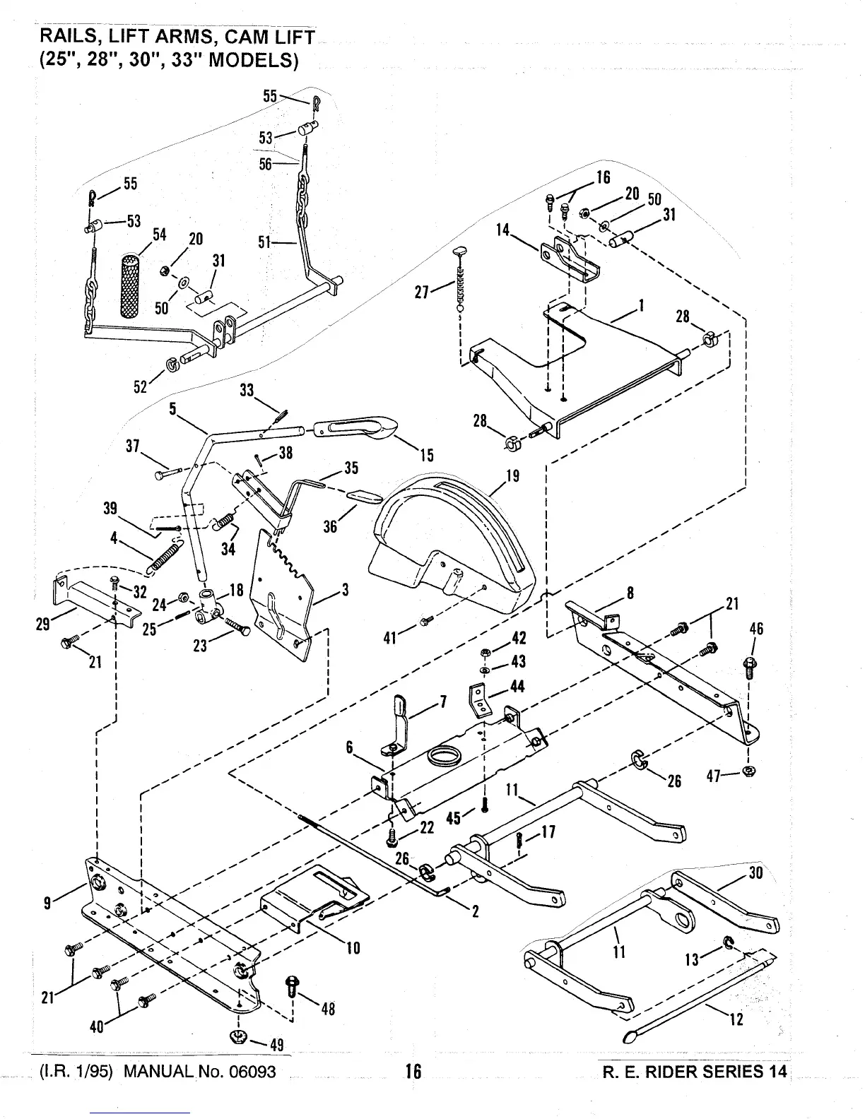
Snapper 250814BE - Rails, Lift Arms, and Cam Lift System

Snapper 250814BE
32 pages
Print Icon
To Next Page IconTo Next Page
To Next Page IconTo Next Page
To Previous Page IconTo Previous Page
To Previous Page IconTo Previous Page
Loading...

Related product manuals