EasyManua.ls Logo

Snapper LT14H331KV - Page 12

Snapper LT14H331KV
56 pages
Print Icon
To Next Page IconTo Next Page
To Next Page IconTo Next Page
To Previous Page IconTo Previous Page
To Previous Page IconTo Previous Page
Loading...
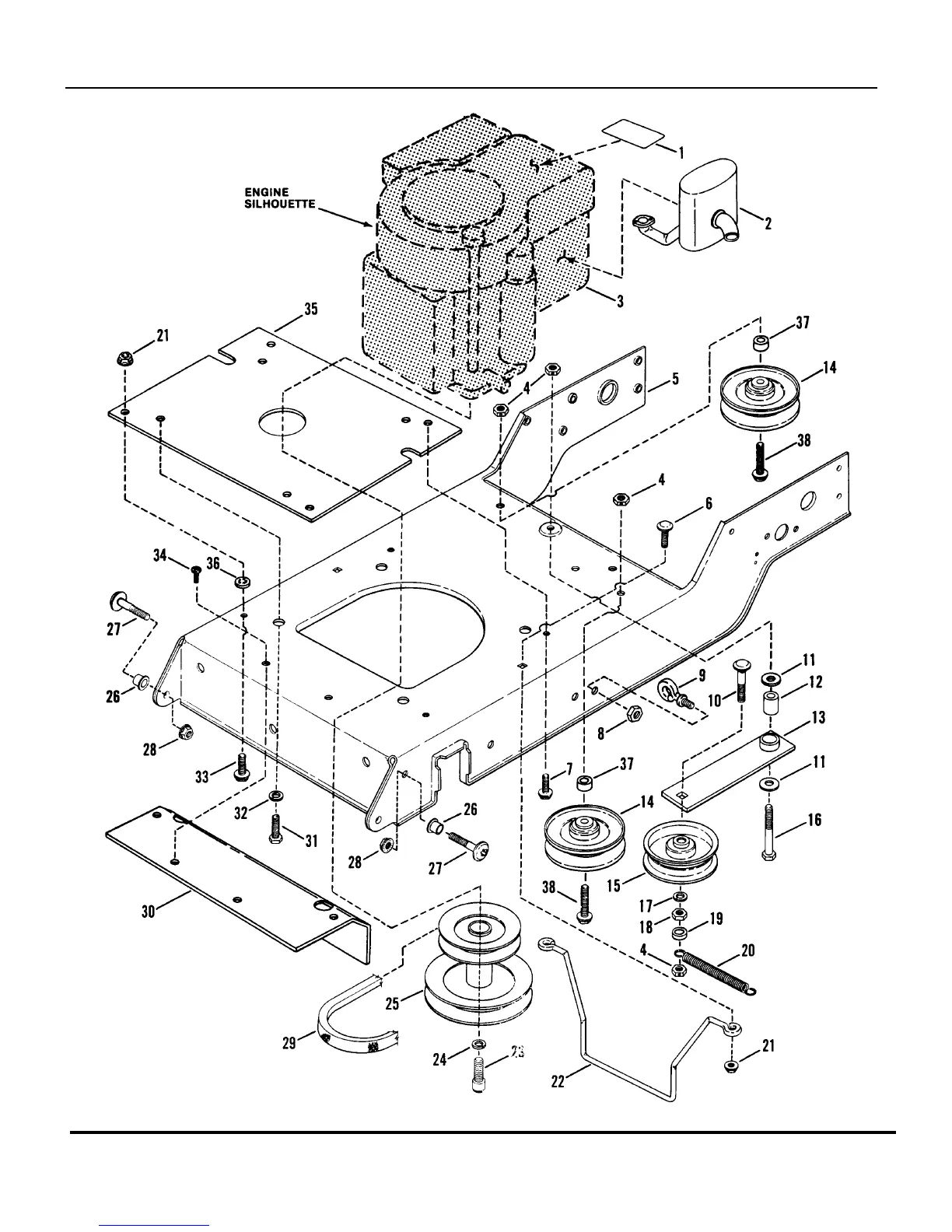
Engine Base & Drive Parts
TP 400-5217-2-TC-N
Manual No. 7006425 LAWN TRACTOR MANUAL CLUTCH
SERIES 1
12

Related product manuals