EasyManua.ls Logo

Snapper LT160H42GBV, 2LT160H42GBV2, LT180H48GBV2

Snapper LT160H42GBV, 2LT160H42GBV2, LT180H48GBV2
44 pages
To Next Page IconTo Next Page
To Next Page IconTo Next Page
To Previous Page IconTo Previous Page
To Previous Page IconTo Previous Page
Loading...
29
Section 4 - ADJUSTMENT & REPAIR
WARNING
DO NOT attempt any adjustments, maintenance or
service with the engine or blades running. STOP
blades. STOP engine. Set brake. Remove key.
Remove spark plug wire from spark plug and secure
wire away from spark plug. Engine and components
can be extremely hot. Avoid burns by allowing engine
and components sufficient time to cool.
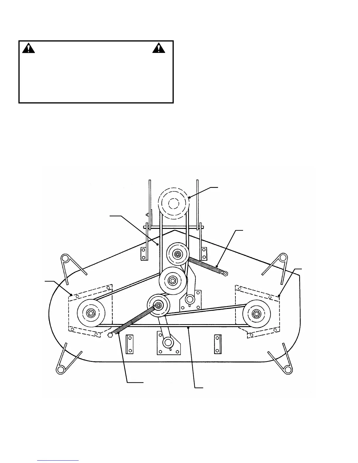
4.4.8. DECK BELT REMOVAL & REPLACEMENT
48" Deck Drive Belt
1. Place tractor on a firm level surface.
2. Turn engine "OFF". Remove key.
3. Remove mower deck. See Section on DECK
REMOVAL.
4. Remove deck idler tension spring. Remove nuts that
secure the spindle pulley covers. See Figure 4.35.
5. Remove belt.
6. Install new belt.
7. Reinstall both pulley covers.
8. Reinstall mower deck to tractor.
FIGURE 4.35
ENGINE TO DECK
DRIVE BELT
PART No. 4-6926
SPINDLE TO SPINDLE
MOWER BELT
PART No. 2-8334
TENSION
SPRING
SPINDLE
PULLEY
COVER
TENSION
SPRING
ELECTRIC
CLUTCH
PULLEY
TOP VIEW OF
48” MOWER DECK
SPINDLE
PULLEY
COVER

Table of Contents

Related product manuals