EasyManua.ls Logo

Solas-Linear ST-46N - Page 39

Solas-Linear ST-46N
50 pages
Print Icon
To Next Page IconTo Next Page
To Next Page IconTo Next Page
To Previous Page IconTo Previous Page
To Previous Page IconTo Previous Page
Loading...
39
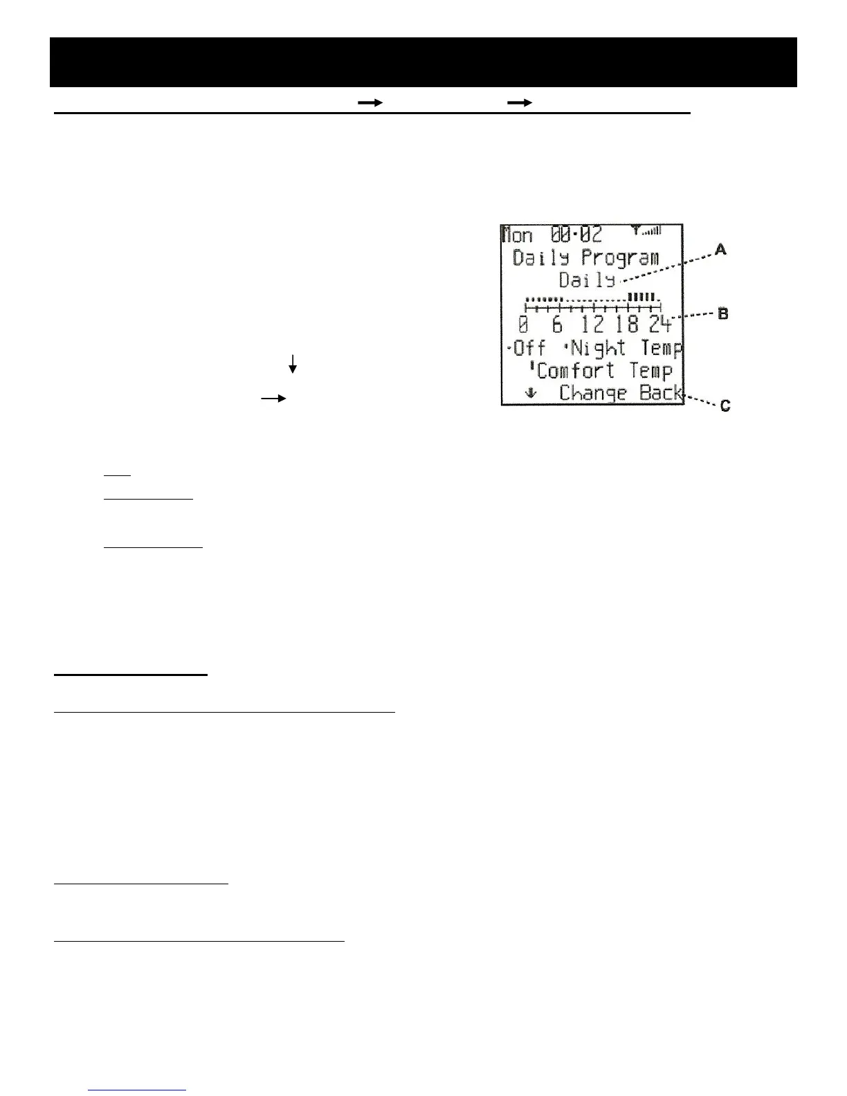
2.6 Day programming menu (Menu Adjust Menu Change Program).
There are 8 menus like this. One for Daily, and the others for each day (Monday, Tuesday, Wednesday, Thurs-
day, Friday, Saturday and Sunday). This day programming screen consists of:
Daily program.
A: Selected (including "Daily"). The selected
day can be changed by pressing Change (middle
button).
B: Day schedule graphic. This bar displays the
program for the whole day by showing the tem-
perature setting for each hour of the day. To access
the day schedule graphic, press (left button). To
change the desired temperature, go to the hour you
want to change by pressing (left button) and
then press change (middle button). There are 3
possible temperature settings:
Off : The appliance is in pilot mode (no temperature control).
Night Temp: The night temperature is set as the desired temperature and the appliance will heat
until this temperature is reached.
Comfort Temp: The comfort temperature is set as the desired temperature and the appliance
will heat until this temperature is reached.
Finally, to launch the program mode, in the main menu, set Program to On, and select the desired Program
Type (Daily or Weekly).
2.7. Other features
How to locking and unlock the remote (child lock):
To unlock the remote, press the Unlock button and then O.K.
To lock the remote, in the main screen press Menu go to the Lock option, press Select and then Change.
The remote will immediately go into locked mode.
Automatic lock can be selected. This means that if no button is pressed for while, the remote automatically
goes into locked mode.
How to change Language:
In the main screen, press Menu button. Select Language, press Change and select required language.
How to select the temperature unit (°F / °C)
In the main screen, press Menu button. Select Adjust Menu and then select Unit. To change the tem-
perature unit press Change button.
COPRECI R-emotion CONTROL SYSTEM