EasyManua.ls Logo

Sony CDX-G1102U - Page 56

Sony CDX-G1102U
92 pages
Print Icon
To Next Page IconTo Next Page
To Next Page IconTo Next Page
To Previous Page IconTo Previous Page
To Previous Page IconTo Previous Page
Loading...
4IT
Guida alle parti e ai comandi
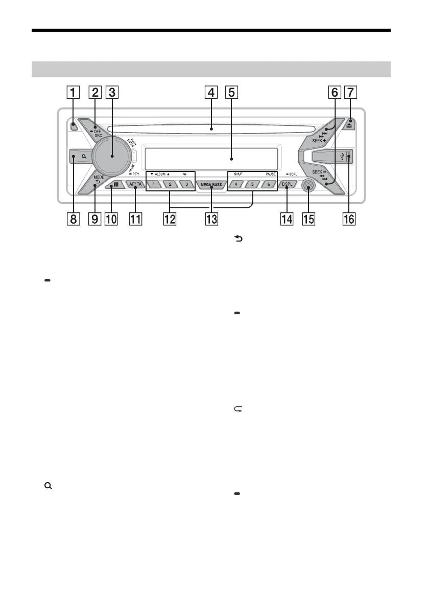
Tasto rilascio pannello anteriore
SRC (sorgente)
Per accendere l’apparecchio.
Per cambiare la sorgente.
OFF
Tenere premuto per 1 secondo per spegnere
l’apparecchio.
Tenere premuto per più di 2 secondi per
spegnere l’apparecchio e disattivare il display.
Manopola di controllo
Ruotare per regolare il volume.
PUSH ENTER
Per impostare la voce selezionata.
MENU
Per aprire il menu di impostazione.
Alloggiamento del disco
Finestra del display
SEEK +/–
Per sintonizzare automaticamente le stazioni
radio. Tenere premuto per sintonizzarle
manualmente.
/ (prec/succ)
/ (indietro/avanti rapido)
 (espulsione disco)
(sfoglia) (pagina 8)
Per impostare il modo sfoglia durante la
riproduzione.
(indietro)
Per tornare al display precedente.
MODE (pagina 6)
Ricettore del telecomando
AF (frequenze alternative)/TA (notiziari sul
traffico)
Per impostare i modi AF e TA.
PTY (tipo di programma)
Tenere premuto per selezionare PTY nel modo
RDS.
Tasti numerici (da 1 a 6)
Per ricevere le stazioni radio memorizzate.
Tenere premuto per memorizzare le stazioni.
ALBUM /
Per saltare un album per un apparecchio audio.
Tenere premuto per saltare gli album in modo
continuo.
(ripeti)
SHUF (riproduzione casuale)
PAUSE
MEGA BASS
Premere per attivare/disattivare la funzione
MEGA BASS.
DSPL (display)
Premere per cambiare le voci del display.
SCRL
Tenere premuto per scorrere le voci del display.
Presa di ingresso AUX
Porta USB
Unità principale

Table of Contents

Related product manuals