EasyManua.ls Logo

Sony DAV-DZ620K - Index to Parts and Controls

Sony DAV-DZ620K
108 pages
Print Icon
To Next Page IconTo Next Page
To Next Page IconTo Next Page
To Previous Page IconTo Previous Page
To Previous Page IconTo Previous Page
Loading...
Additional Information
95
GB
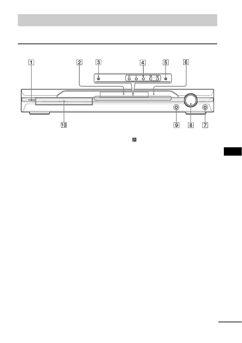
For more information, refer to the pages indicated in parentheses.
Front panel
A "/1 (on/standby) (30)
B Front panel display (97)
C A (open/close) (30)
D Disc operation (30)
E FUNCTION (30)
F (remote sensor) (8)
G MIC 2 jack (62)
H VOLUME control (30)
I AUDIO IN/MIC 1/A.CAL MIC jack (32, 62)
J Disc tray (30)
Index to Parts and Controls
continued

Table of Contents

Related product manuals