EasyManua.ls Logo

Sony DRU-820A - Component Identification

Sony DRU-820A
36 pages
Print Icon
To Next Page IconTo Next Page
To Next Page IconTo Next Page
To Previous Page IconTo Previous Page
To Previous Page IconTo Previous Page
Loading...
8
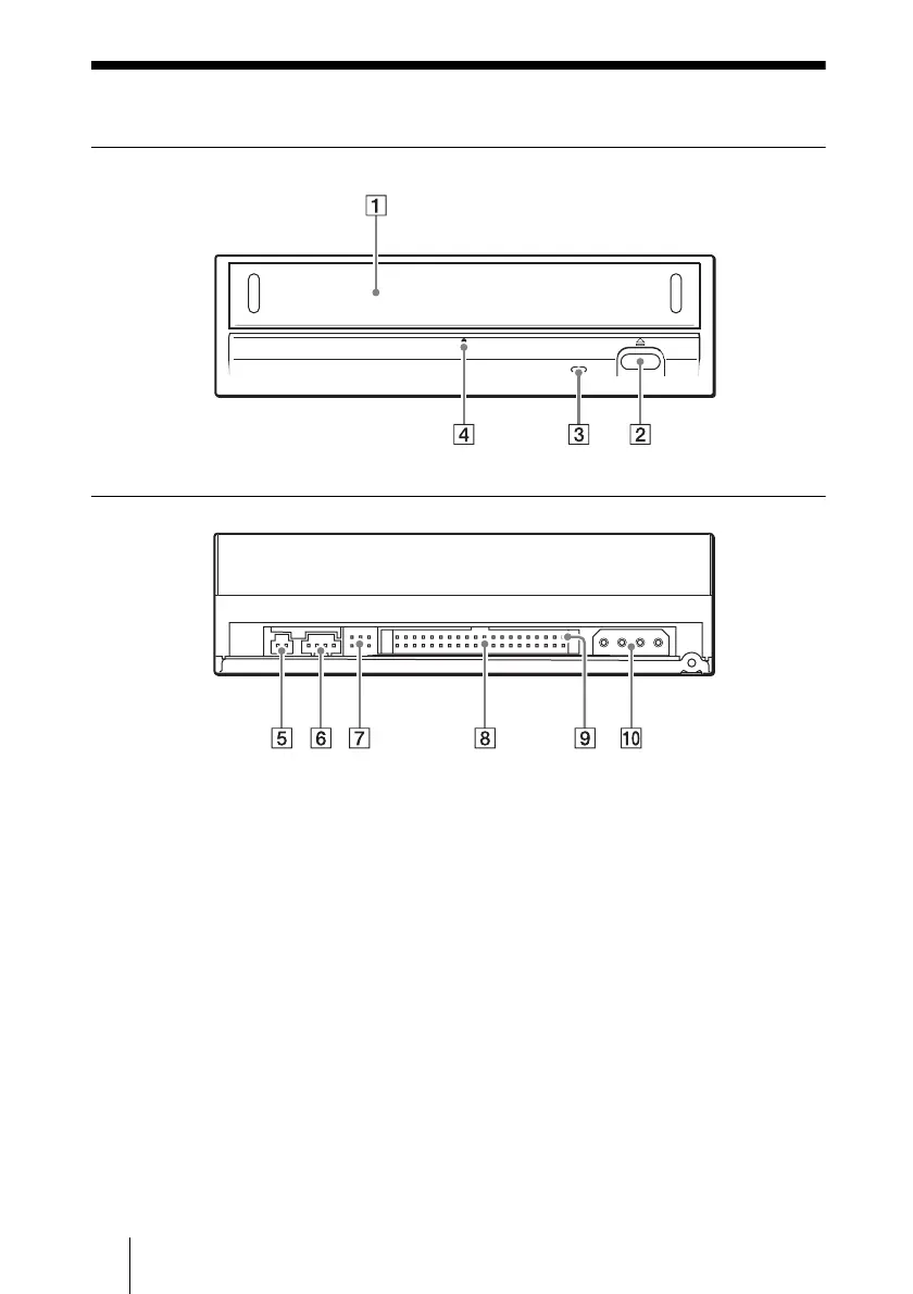
Part Names and Functions
Front Panel
Rear Panel

Related product manuals