EasyManua.ls Logo

Sony DVP-FX875 - Front View; Right View

Sony DVP-FX875
304 pages
Print Icon
To Next Page IconTo Next Page
To Next Page IconTo Next Page
To Previous Page IconTo Previous Page
To Previous Page IconTo Previous Page
Loading...
D:\NU_Working_NU\New Folder\Foxconn080828_DVP-
FX875_GB\01US09ADD-CEK.fm
master page=left
DVP-FX875
4-116-131-22(1)
48
GB
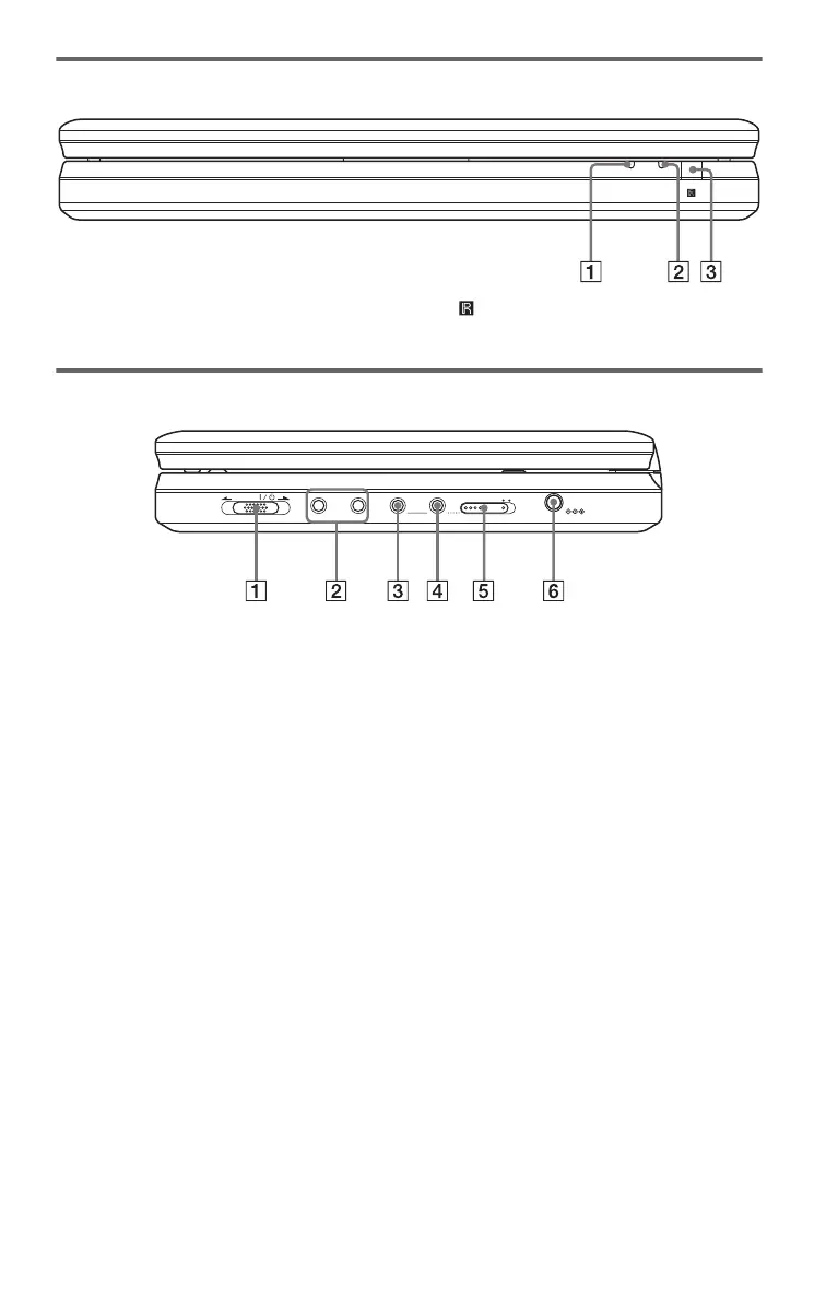
Front view
A POWER indicator (16)
B CHARGE indicator (13)
C (remote sensor) (9)
Right view
A \/1 (on/standby)/HOLD switch (16)
B PHONES (headphone) jack A, B
C AUDIO (input/output) jack/OPTICAL
OUT (optical output) jack (39, 40)
D VIDEO (input/output) jack (39)
E LINE SELECT (IN/OUT) switch (16)
F DC IN 9.5V (AC adaptor input) jack
(11)
CHARGEPOWER
DC IN
9.5V
AUDIO VIDEO
PHONES
OPTICAL
OUT
AB
LINE SELECT
IN OUT
HOLD
4116131111.book Page 48 Wednesday, September 10, 2008 5:33 PM

Table of Contents

Related product manuals