EasyManua.ls Logo

Sony FCB-ER8550 - Page 20

Sony FCB-ER8550
100 pages
Print Icon
To Next Page IconTo Next Page
To Next Page IconTo Next Page
To Previous Page IconTo Previous Page
To Previous Page IconTo Previous Page
Loading...
FCB-ER8550/CR8550(GB) D-201-100-12(1)
20
Update procedure (USB)
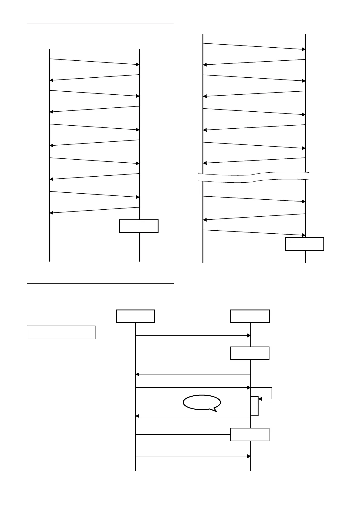
Error occurrence patterns
The update (UART) error patterns are as follows.
UART update-error 1
HOST FCB
Reboot
CMD_GET_STATE
ERR_OK (CURSTAT_PRE_SWITCTMODE)
CMD_CHK_GUARD
ERR_OK (STAT_OK)
CMD_WRITE_FIRM
ERR_OK (STAT_BUSY)
ERR_OK (STAT_BUSY)
CMD_WRITE_FIRM
CMD_WRITE_FIRM
ERR_OK (STAT_OK)
CMD_COMPLETE
FCB
Reboot
Reboot
ready
updater mode
different versions
application mode
VISCA
HOST
VISCA
xmodem
H/W RePower
Error
erroroccurs
Different versions

Related product manuals