EasyManua.ls Logo

Sony ILCE-7RM4 - Page 376

Sony ILCE-7RM4
679 pages
Print Icon
To Next Page IconTo Next Page
To Next Page IconTo Next Page
To Previous Page IconTo Previous Page
To Previous Page IconTo Previous Page
Loading...
ILCE-7RM4
5-007-325-41(2)
PT
12
C:\01_Compose\5007325412\5007325412ILCE7RM4CEC\06PT-ILCE7RM4CEC\020PRE.indd
DTP data saved: 2019/06/24 12:19
PDF file created: 2019/06/24 12:38
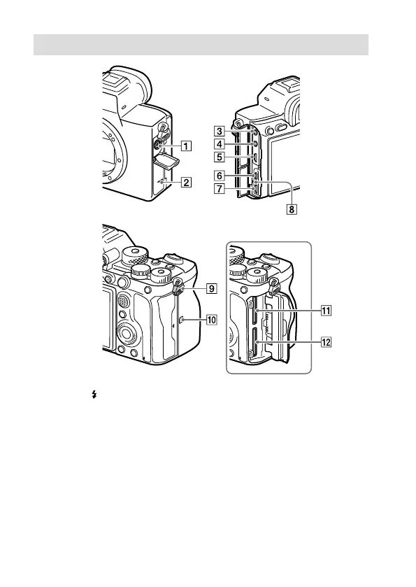
Lados
Terminal (Sinc flash)
Altifalante
Tomada (Microfone)
Quando estiver ligado
um microfone externo, o
microfone incorporado desliga
automaticamente. Quando
o microfone externo for do
tipo de alimentação plugin, a
alimentação do microfone é
fornecida pela câmara.
Tomada (Auscultadores)
Micro tomada HDMI
Terminal USB Type-C (13)
Multi Terminal/Terminal Micro
USB* (13)
Este terminal suporta
dispositivos compatíveis com
Micro USB.
Luz de carregamento