EasyManua.ls Logo

Sony STR-VX4 - Page 29

Sony STR-VX4
40 pages
Print Icon
To Next Page IconTo Next Page
To Next Page IconTo Next Page
To Previous Page IconTo Previous Page
To Previous Page IconTo Previous Page
Loading...
SONY
STR-VX
Series
Circuit
Operation
EQUALIZER
BOARD
3505
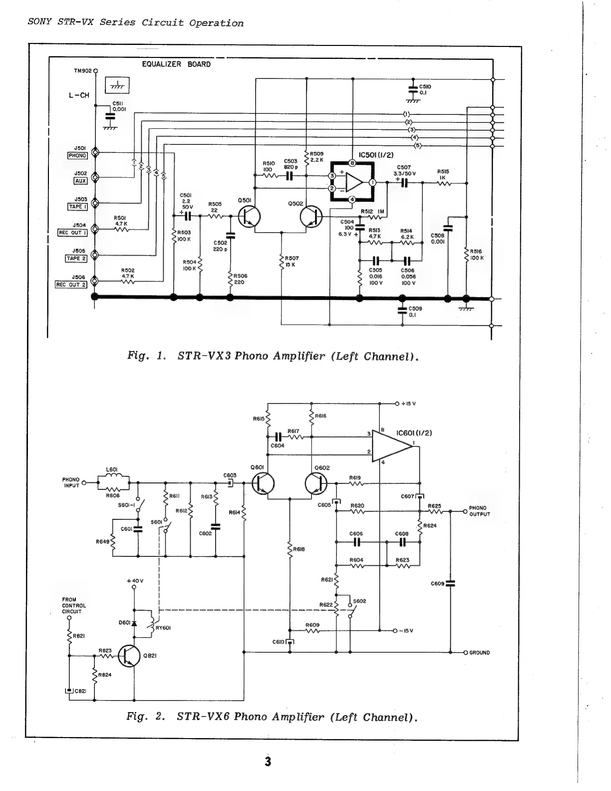
Fig.
1.
STR-VX3
Phono
Amplifier
(Left
Channel).
R6I5
Rei?
8
ice6oi(i72)
O
PHONO
OUTPUT
FROM
CONTROL
CIRCUIT
?
3
p60!
RY6O!
R823
@
ees
©
GROUND
R824
Fig.
2.
STR-VX6
Phono
Amplifier
(Left
Channel).

Related product manuals