EasyManua.ls Logo

Sony Walkman WM-EX618 - Mechanism Section 2 Exploded View

Sony Walkman WM-EX618
22 pages
To Next Page IconTo Next Page
To Next Page IconTo Next Page
To Previous Page IconTo Previous Page
To Previous Page IconTo Previous Page
Loading...
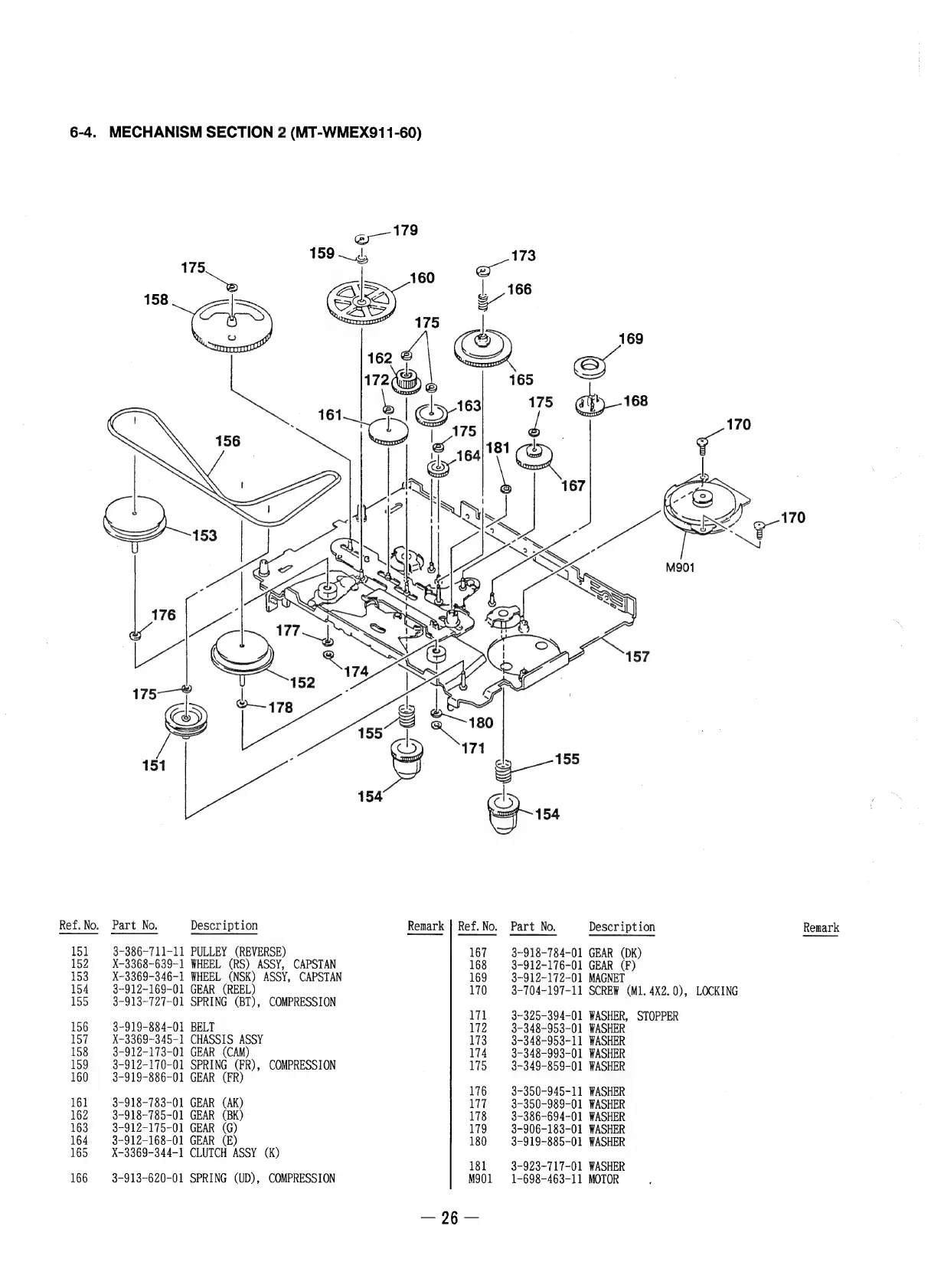
6-4.
MECHANISM
SECTION
2
(MT-WMEX911-60)
158
Part
No.
3-386-711-11
X-3368-639-]
X-3369-346-1
3-912-169-01
3-913-727-01
X-3369-345-1
3-91Z-173-01
3-912-170-01
3-919-886-01
3-918-783-01
3-918-785-01
3-912-175-01
Description
PULLEY
(REVERSE)
WHEEL
(RS)
ASSY,
CAPSTAN
WHEEL
(NSK)
ASSY,
CAPSTAN
GEAR
(REEL)
SPRING
(BT),
COMPRESSION
3-919-884-01
BELT
CHASSIS
ASSY
GEAR
(
CAM)
a
ae
COMPRESSION
GEAR
(FR)
GEAR
(AK)
GEAR
(BK)
GEAR
(G)
3-912-168-01
GEAR
(E)
X-3369-344-1
3-913-620-01
EA
CLUTCH
ASSY
(K)
SPRING
(UD),
COMPRESSION
Remark
|
Ref.
No.
Part
No.
3~918-784-01
3-912-176-01
3-912-172-01
3-704-197-11
3-325-394-01
3-348-953-01
3-348-953-11
3-348-993-01
3-349-859-01
3~-350-945-11
3-350-989-01
3-386-694-01
3-906-183-01
3-919-885-01
3-923-717-01
1-698-463-11
Description
Remark
GEAR
(DK)
GEAR
(F)
MAGNET
SCREW
(M1.
4X2.
0),
LOCKING
WASHER,
STOPPER
WASHER
WASHER
WASHER
WASHER
WASHER
WASHER
WASHER
WASHER
WASHER
WASHER
MOTOR

Related product manuals