EasyManua.ls Logo

SPX 5012A - Page 4

SPX 5012A
7 pages
Print Icon
To Next Page IconTo Next Page
To Next Page IconTo Next Page
To Previous Page IconTo Previous Page
To Previous Page IconTo Previous Page
Loading...
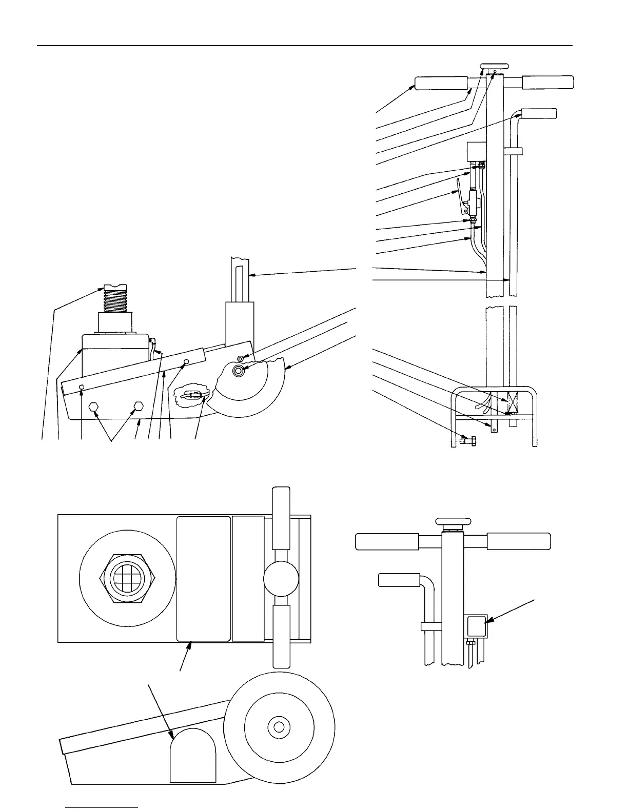
Parts List & Operating Instructions Form No. 106218, Sheet 2 of 4, Back
53 55 56 57 59 62 61 56 60
54 58
79
78
66
77
76
74, 75
73
72
71
60
62
68
70
69
68
67
66
65
64
63
82
80
81

Related product manuals