EasyManua.ls Logo

Srne ML2440 - Page 9

Default Icon
33 pages
Print Icon
To Next Page IconTo Next Page
To Next Page IconTo Next Page
To Previous Page IconTo Previous Page
To Previous Page IconTo Previous Page
Loading...
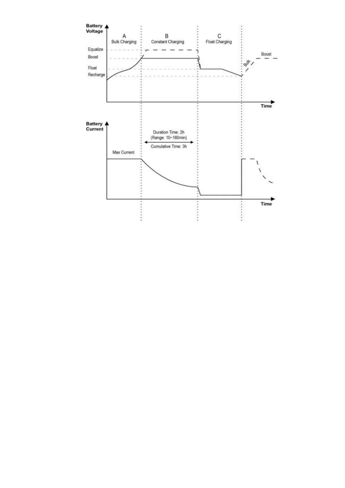
Figure 1-5Battery Charging Stage
Fast Charging
In fast charging stage, battery voltage is below the preset value (equalizing/boost voltage) of full
voltage. The solar charge controller will perform MPPT charging and provide the maximum solar power
to charge battery. After battery voltage reaches the preset value, the controller conducts constant-voltage
charging.
Maintaining Charging
When battery voltage reaches the preset value for maintaining voltage, the
solar charge controller performs constant-voltage charging, and this process does
not involve MPPT charging. At the same time, charging current declines gradually
over time. There are two stages in maintaining charging, which are equalizing
charging and boost charging. The two charging processes are not repeated
processes. Equalizing charging is started once every 30 days in a month.
Boost Charging
The boost charging stage generally lasts 2 hours by default. Customers can
adjust the duration and preset value of boost voltage according to actual needs.

Related product manuals