EasyManua.ls Logo

Stanton C.501 - Operations - Tempo and Synchronization; Scanning and Time Display; BPM Matching and Fader Start

Stanton C.501
15 pages
Print Icon
To Next Page IconTo Next Page
To Next Page IconTo Next Page
To Previous Page IconTo Previous Page
To Previous Page IconTo Previous Page
Loading...
9
OPERATIONS
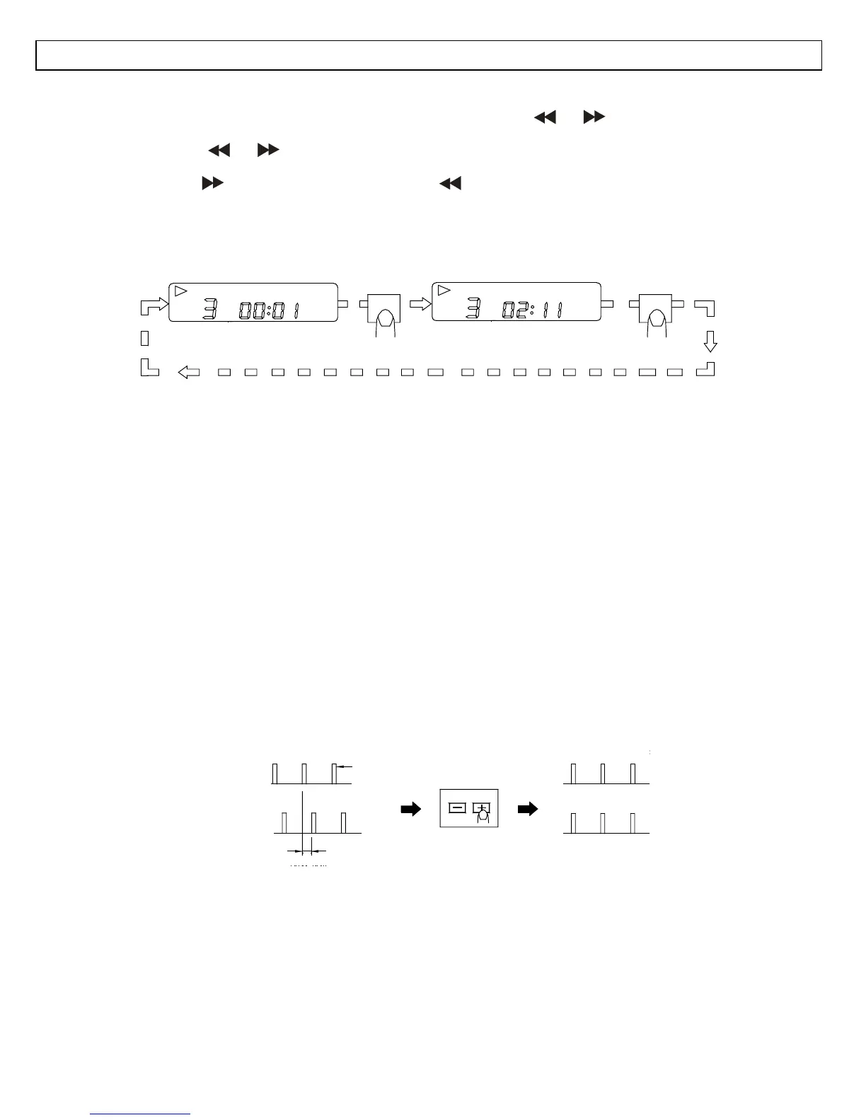
9. Scanning (Fast forward/Fast backward)
Scanning is a function for moving quickly forward or backward when the
or button is pressed.
The scanning speed depends on how long you hold the button.
Press and hold the
or to begin scanning. The disc moves rapidly forward or backward and the sound is
output. The current scan point is indicated on the LCD.
Press and hold the
to scan in the forward scanning, to scan in the reverse scanning.
10. Time display
Press TIME button to select time display mode:
Elapsed time of a track.
Remaining time of a track.
ELAPSED REMAIN
TIME
TIME
Figure 10-1
11. Matching the Beats Per Minute (BPM)
There are two tools available for matching the BPM of the two CDs:
Use the pitch slider to adjust the BPM statically.
Use the PITCH BEND buttons to change the BPM temporarily.
1) Pitch Slider
To adjust the BPM by sliding the pitch slider up or down, press the PITCH button to turn on the PITCH
adjustment function before use.
Slide the pitch slider up to decrease BPM, or down to increase BPM. The adjustment range is +/-10%.
2) Pitch Bending
The BPM increases or decreases respectively while the PITCH BEND+ or PITCH BEND- button is pressed.
The BPM increase depends on how long you hold the button. If you hold the button for about 1/2 second, theBPM will
go either to +16% for PITCH BEND+ or -16% for PITCH BEND-. If you tap the button, the BPM will only change a little
so you can change the beat slightly without audible changes in the music.
The CD will return to the tempo indicated by the Pitch slider when you let go to the PITCH BEND+ or -.
Figure 11-1 shows an example of how to use the pitch bend function. In this example, both players are playing and the
BPM has already been matched with the pitch sliders.
The bass beats also match
CD1 Bass beat
bass beat
PITCH BEND
CD2
bass beat
Bass beat Figure 11-1
12. Fader start
You have the possibility to start the respective CD-player directly from the mixer. Make sure that the Control socket is
connected with the respective socket on the mixer. Additionally, the Audio out socket have to be connected with the
Line-input sockets of your mixer. Please note that the Fader start function only works with the appropriate mixers. Insert
the CD and select the desired track. Start playback from your mixer.

Related product manuals