EasyManua.ls Logo

Stark 58108 - Page 30

Stark 58108
42 pages
Print Icon
To Next Page IconTo Next Page
To Next Page IconTo Next Page
To Previous Page IconTo Previous Page
To Previous Page IconTo Previous Page
Loading...
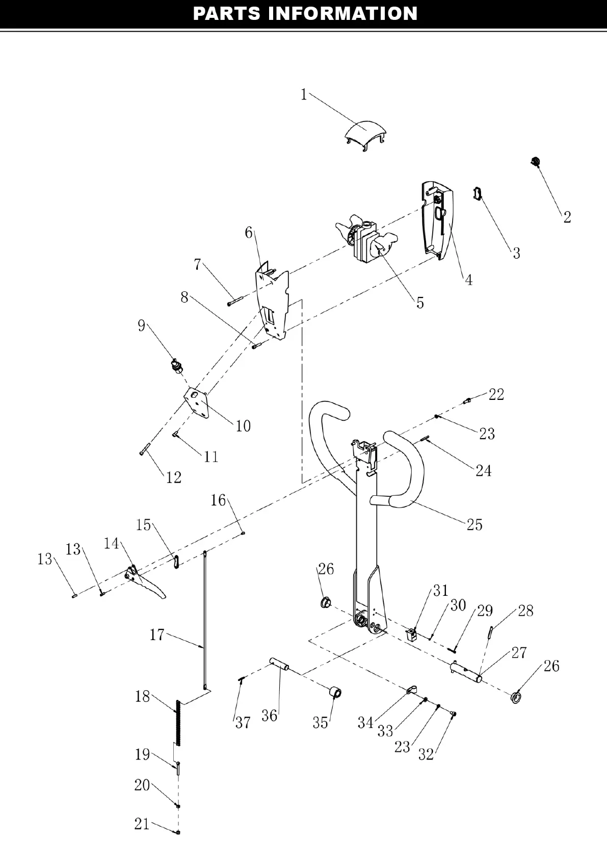
OPERATING HANDLE ASSEMBLY (LOWERING)
29