EasyManua.ls Logo

Start 650 - Page 18

Start 650
Print Icon
To Next Page IconTo Next Page
To Next Page IconTo Next Page
To Previous Page IconTo Previous Page
To Previous Page IconTo Previous Page
Loading...
18
L'électrolyte de la batterie pendant la charge ne doit pas dépasser les 40°C.
L'intensité de charge est déterminée par la formule:
capacité de la batterie (Ah) capacité de la batterie (Ah)
Charge normale = { } - Charge maximale = { }
10 5
Si la batterie doit être chargée dans un délai plus court, il faut utiliser la charge rapide avec le temporisateur.
L'intensité du courant de charge dans ces conditions ne doit jamais dépasser la capacité en Ah de la batterie. Par
exemple si vous avez une batterie de 42 Ah le courant de charge initial peut arriver à 40 Ampères qui diminuent à
mesure que la batterie est chargée. La température de l'électrolyte durant la charge rapide peut atteindre, pour une
brève durée, 45°C.
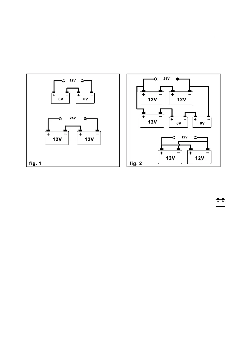
Si on doit charger plus d'une batterie simultanément, il faut choisir, si possible, le branchement en série (se
reporter à la figure 1). Dans le cas de branchement en parallèle (figure 2), le courante de charge pour chaque
batterie est donné par le courant mesuré par l'instrument (ampèremètre) du chargeur de batteries, divisé par le
nombre de batteries en parallèle. Les batteries sulfatées, avec des éléments endommagés ou en court-circuit,
fournissent des indications erronées sur l'ampèremètre du chargeur de batteries.
UTILISATION COMME CHARGEUR DE BATTERIES (voir pages 4 et 5)
Vérifier la valeur de la tension de la batterie à charger.
Avant de charger les batteries, desserrer les bouchons des éléments de la batterie (fig. 1).
Contrôler le niveau de l'eau dans chaque élément. L'électrolyte doit être à un niveau plus élevé de quelques
millimètres par rapport aux séparateurs (fig. 2).
Connecter le câble négatif (avec pince noire - ) sur le borne du chargeur correspondant à la tension de la
batterie (fig. 3). Connecter le câble positif (avec pince noire +) au borne "+CHARGE" du chargeur de batterie
(art. 592 et 593).
Connecter les pinces à la batterie: la pince rouge (+) au pôle positif, la pince noire (-) au pôle négatif (fig.4).
Attention! Effectuer attentivement cette opération.
Le pôle positif de la batterie a un diamètre supérieur à celui du pôle négatif.
Si la batterie est installée sur un véhicule, établir quel est le pôle de la batterie relié à la terre, en lisant le
manuel des instructions du véhicule.
Pour les batteries avec le négatif à la terre, connecter la pince rouge (+) au pôle positif, puis la pince noire (-)
au châssis du véhicule, loin de la batterie et des tuyaux du carburant. Pour les batteries avec le positif à la
terre, connecter la pince noire (-) au pôle négatif de la batterie, puis la pince rouge au châssis du véhicule en
utilisant les précautions précédemment décrites.
Insérer la fiche dans la prise de courant (fig. 5). Placer le bouton du commutateur sur la position de charge en
le réglant en fonction de l'intensité de courant désirée (fig. 6, 6a). Placer le temporisateur sur la position "ON"
(fig. 6b, seulement art. 592 et 593).
Si l'on désire effectuer une charge rapide, régler l'intensité du courant par le commutateur (de la pos. 1 à la
pos. 6 pour art. 592 et 593 (fig. 7); de la pos. 3 à la pos. 4 pour art. 598, fig. 7a) et régler le temps de charge en
tournant le temporisateur dans le sens des aiguilles d'une montre (fig. 8).
Lorsque la charge est effectuée, placer le bouton du commutateur sur la position Ø - OFF (fig. 9), enlever la