EasyManua.ls Logo

Start 650 - Page 9

Start 650
Print Icon
To Next Page IconTo Next Page
To Next Page IconTo Next Page
To Previous Page IconTo Previous Page
To Previous Page IconTo Previous Page
Loading...
9
Avendo necessità di caricare una batteria in tempi più brevi, si deve utilizzare la carica rapida con l'uso del
temporizzatore. L'intensità della corrente di carica in queste condizioni non deve superare la capacità in Ah della
batteria. Se la batteria é da 42Ah, la corrente di carica può arrivare fino a 40A all'inizio della carica diminuendo
man mano che la batteria viene caricata. Durante la carica rapida l'elettrolito può raggiungere la temperatura di 45°
per un breve periodo.
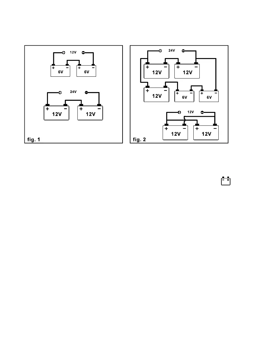
Dovendo caricare più di una batteria contemporaneamente, quando é possibile, si deve preferire il collegamento in
serie (fig. 1). Nel caso di collegamento in parallelo (fig. 2) la corrente di carica di ogni batteria é data dalla corrente
misurata dallo strumento (amperometro) del carica batteria diviso il numero di batterie in parallelo. Batterie
solfatate, con elementi guasti o in cortocircuito danno origine a indicazioni errate dell'amperometro del carica
batterie.
IMPIEGO COME CARICA BATTERIE (vedere pag. 4 e 5)
Assicurarsi del valore di tensione della batteria da caricare.
Le batterie vanno caricate con i tappi degli elementi allentati (fig. 1).
Il livello dell'elettrolito deve essere più alto dei separatori di alcuni millimetri (fig. 2).
Collegare il cavo negativo (pinza nera) al morsetto sul carica batteria corrispondente alla tensione della batteria
(fig.3). Collegare il cavo positivo (pinza rossa +) al morsetto "+ CARICA" del carica batteria (solo art.592 e 593).
Collegare le pinze alla batteria: la pinza rossa (+) al polo positivo, la pinza nera (-) a quello negativo (fig. 4).
Attenzione, eseguire attentamente questa operazione!
Il polo positivo della batteria ha un diametro maggiore di quello negativo.
Se la batteria é installata su un autoveicolo determinare quale polo della batteria é collegato a massa leggendo
il manuale di istruzione dell'autoveicolo stesso, poi collegare i corrispettivi morsetti del carica batterie, uno al
polo della batteria che non é collegato a massa e l'altro direttamente al telaio in un punto dell'autoveicolo il più
lontano possibile dalla batteria e dal condotto del carburatore.
Se ha il positivo a massa collegare la pinza nera (-) al polo negativo della batteria quindi la pinza rossa (+) al
telaio dell'autoveicolo usando le precauzioni descritte precedentemente. Se, invece, ha il polo negativo a
massa, collegare la pinza rossa (+) al polo positivo della batteria e la pinza nera (-) al telaio dell' autoveicolo.
Collegare la spina del cavo rete alla linea di alimentazione (fig.5), portare la manopola del commutatore nella
posizione di carica regolando l'intensità di corrente desiderata (fig.6, 6a). Portare il temporizzatore in pos. "ON"
(fig. 6b, solo art. 592 e 593).
Se si desidera effettuare una carica rapida, regolare l'intensità della corrente tramite il commutatore (da pos. 1
a pos. 6 per art. 592 e 593, fig. 7; da pos. 3 a pos. 4 per art. 598, fig. 7a) e regolare il tempo di carica ruotando
in senso orario il temporizzatore (fig. 8).
Terminata la carica, portare la manopola del commutatore in pos. O-OFF (fig. 9), staccare la spina del carica
batteria dalla linea di alimentazione (fig. 10) e successivamente scollegare le pinze dai poli della batteria (fig.
11). Se la batteria é installata su un autoveicolo, dopo aver staccato la spina di alimentazione, scollegare prima
la pinza collegata al telaio e, quindi, la pinza collegata al polo della batteria.