EasyManua.ls Logo

Steba KB A9 - Page 10

Steba KB A9
Print Icon
To Next Page IconTo Next Page
To Next Page IconTo Next Page
To Previous Page IconTo Previous Page
To Previous Page IconTo Previous Page
Loading...
10
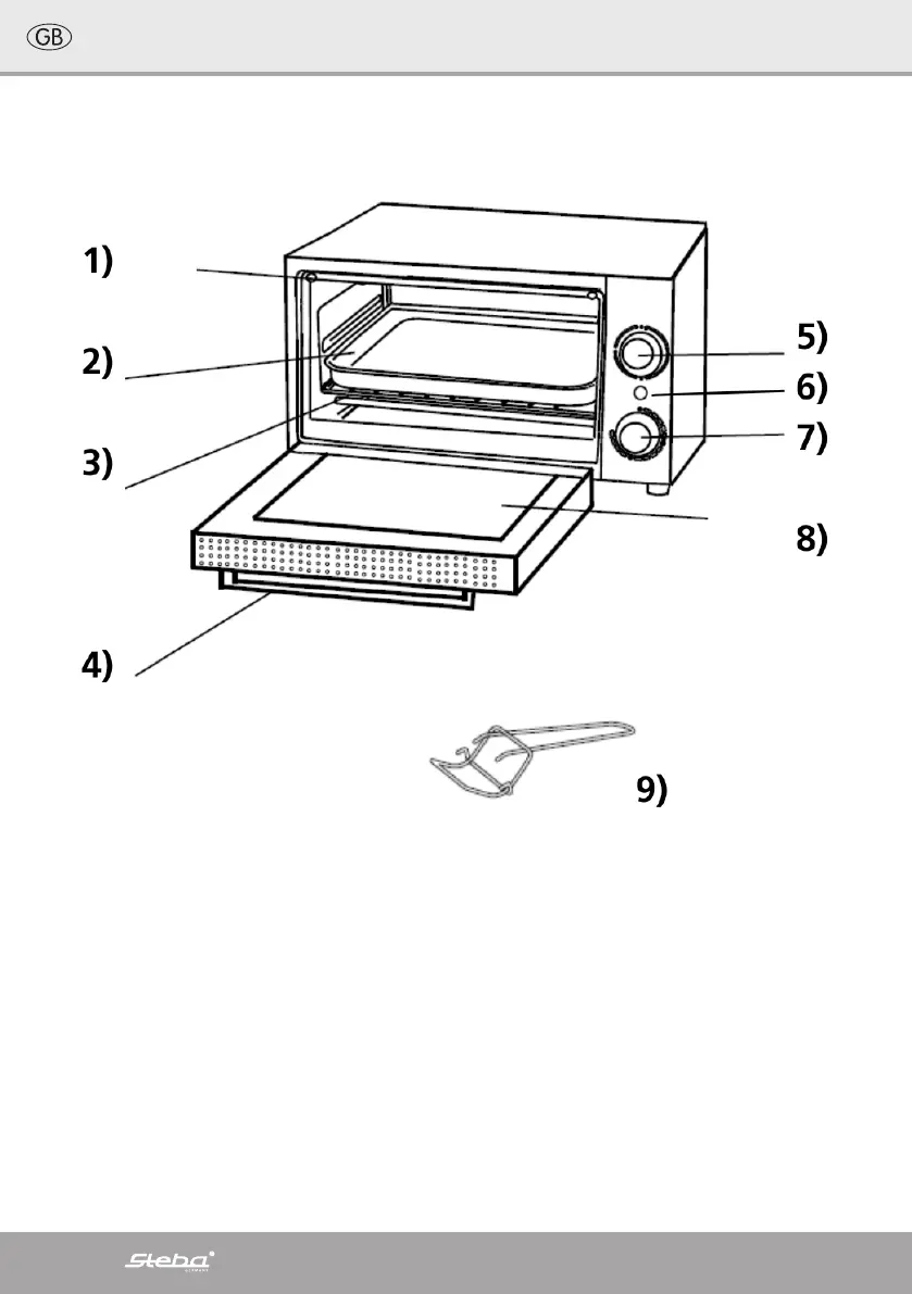
1) Heating elements
2) Baking tray
3) Wire grill
4) Door handle
5) Temperature knob
6) Power control light
7) Timer
8) Glass door
9) Pan handle

Related product manuals