EasyManua.ls Logo

Steba KB A9 - Page 18

Steba KB A9
Print Icon
To Next Page IconTo Next Page
To Next Page IconTo Next Page
To Previous Page IconTo Previous Page
To Previous Page IconTo Previous Page
Loading...
18
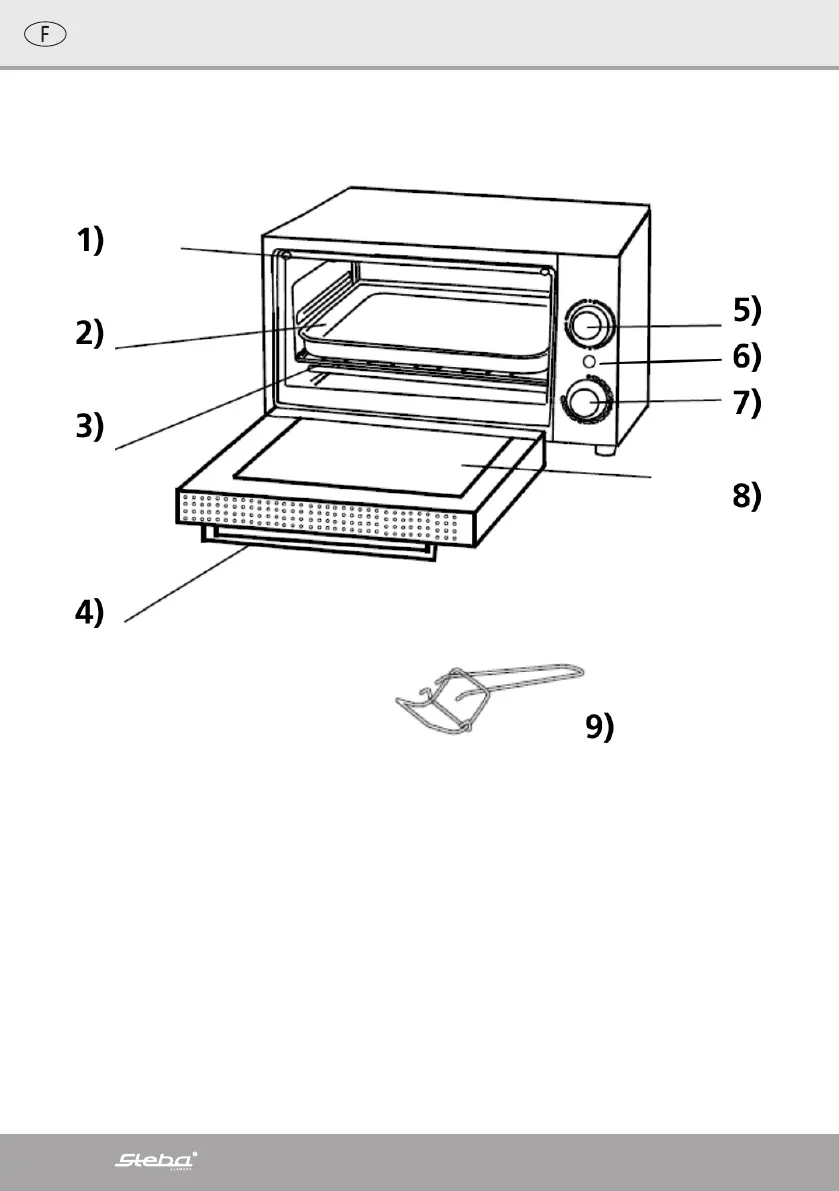
1) Éléments du chauffage
2) Tôle à pâtisserie
3) Grille
4) Poignée du port
5) Sélecteur de température
6) Témoin de fonctionnement
7) Minuterie
8) Port en verre
9) Support pour tôle

Related product manuals