EasyManua.ls Logo

Steba KB E350 - Page 57

Steba KB E350
Print Icon
To Next Page IconTo Next Page
To Next Page IconTo Next Page
To Previous Page IconTo Previous Page
To Previous Page IconTo Previous Page
Loading...
57
Indstillinger
1) Bagning eller +
Anvendes ved bagning
Indstil tid og temperatur i følge opskriften. Varmeelementerne gløder forskelligt.
Ventilatoren fordeler varmen regenmæssigt i ovnen.
2) Undervarme
eller +
Anvendes ved pizza, pomfritter m.m.
Indstil max. temperatur
De sidste 5 minutter skal undervarmen kun være tænd for at bunden bliver sprød
3) Optøning
+
Frossende medvarer opvarmes ved svag varme i bradepanden.
4) Overvarme
eller +
Anvendes når f.eks. ved tilberedning af pølser, kød, gratinering m.m.
Indstil max. Temperaturen.
Bradepanden placeres i den nedereste skinne. Grillmaden placeres, med nok
afstand til de øverste varmeelementer, på grillpladen. Maden må ikke røre var-
meelementerne!
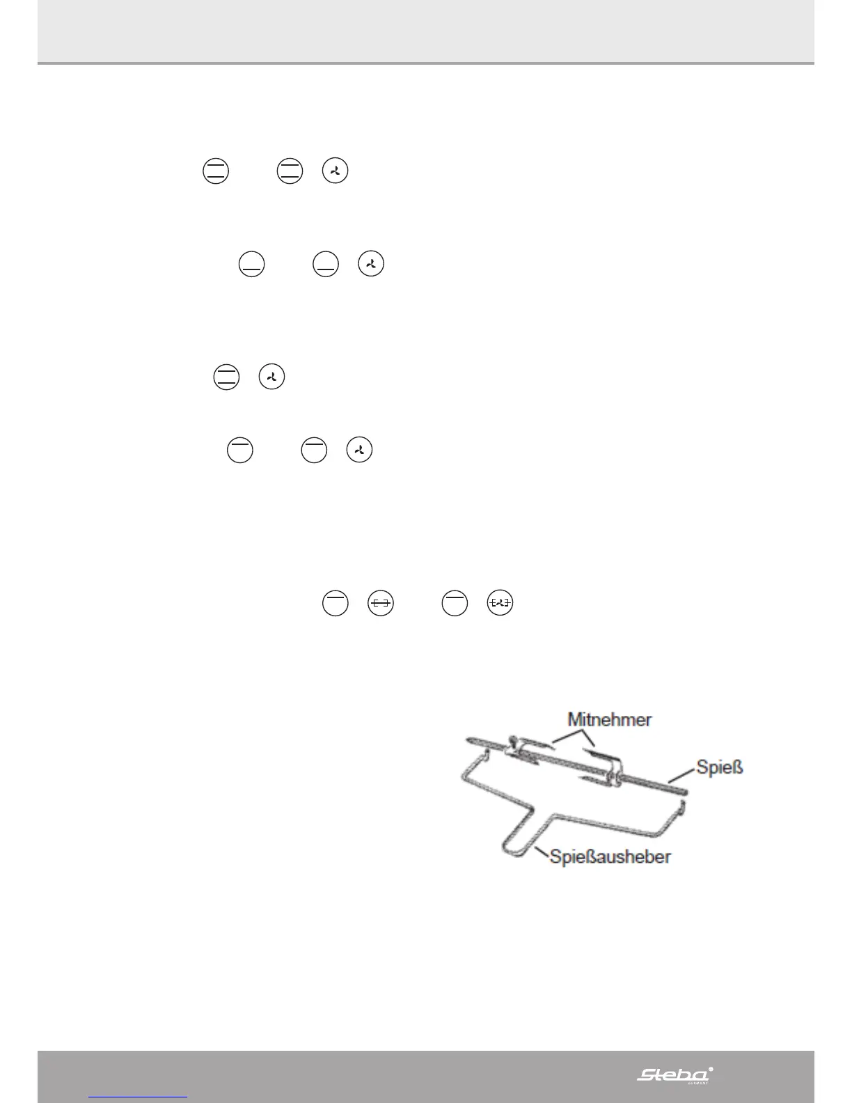
5) Grill med drejespyden
+ eller +
Anvendes ved grill af fjerkræ m.m.
Indstil max. Temperatur.
Bradepanden placeres i den nedereste skinne, så kan fedtet dryppe ned på den.
Hvis der er meget fedt på maden, kan det sprøjte.
Festgør kødet imellem de udtagelige
holdere. Vær opmærksom på, at kødet
sidder i midten af spydet. Placer spyden,
med mande på, på spydudtageren og
placer spidsen af spydet i ovnen på høj-
re side. Placer den anden side af spydet
modsat. Anvend det medfulgte greb fo-
rat udtage det færdig tilberedte mad.

Related product manuals