EasyManua.ls Logo

Steba KB M35 - Page 20

Steba KB M35
Print Icon
To Next Page IconTo Next Page
To Next Page IconTo Next Page
To Previous Page IconTo Previous Page
To Previous Page IconTo Previous Page
Loading...
20
Important: Heat the appliance up for at least 5 min. The appliance can smoke slight-
ly when used the first time. Never put oversized food inside the oven and prevent any
contact to the heating elements. Food which contains much fat should be grilled on
the wire grill in position 2; the baking pan should be put at position 1. If necessary
turn the thermostat a little lower. Always insert the crumb tray.
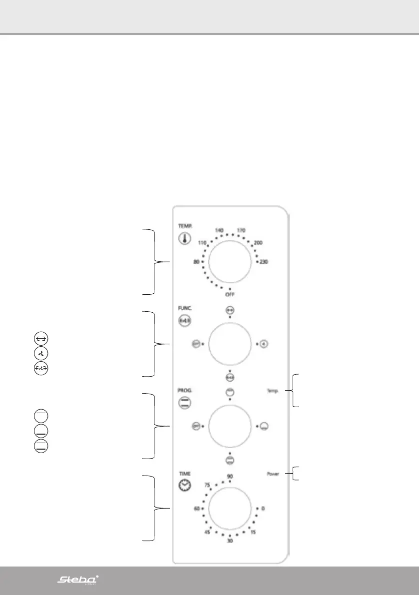
Timer
The device only works when the timer is set. Fully inflate the watch (turn to 90min)
and then reset to the desired time. Please consider the preheating time of 5 minutes
when setting the time. If the food is not brown enough, then extend the time.
When the time has elapsed, the device switches off and a short signal sounds. If the
device is no longer needed, unplug the power cord and set the switches to OFF.
Settings
Thermostat
Functions in addition to
programs:
rotisserie spit
Convection
rotisserie spit
+ convection
Programs:
Upper heat
Lower heat
Upper & lower heat
Timer
Temperature control
light, is clocking if
device heats
Power control light

Related product manuals