EasyManua.ls Logo

SteelSeries ARCTIS NOVA PRO - Product Overview

SteelSeries ARCTIS NOVA PRO
40 pages
Print Icon
To Next Page IconTo Next Page
To Next Page IconTo Next Page
To Previous Page IconTo Previous Page
To Previous Page IconTo Previous Page
Loading...
4
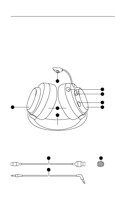
PRODUCT OVERVIEW
HEADSET
1 Elastic Headband
2 Premium Leatherette Ear Cushions*
3 Retractable ClearCast Microphone
4 Volume Wheel
5 Microphone Mute Button
6 3.5 mm Audio Jack
7 Removable Speaker Plates*
ACCESSORIES*
8 USB-C to USB-A Cable (×2)
9 Main Audio Cable
10 Microphone Pop Filter
2
1
3
7
5
4
6
7
108
9

Related product manuals