EasyManua.ls Logo

stefani BOREA E Series - Page 18

Default Icon
23 pages
Print Icon
To Next Page IconTo Next Page
To Next Page IconTo Next Page
To Previous Page IconTo Previous Page
To Previous Page IconTo Previous Page
Loading...
1
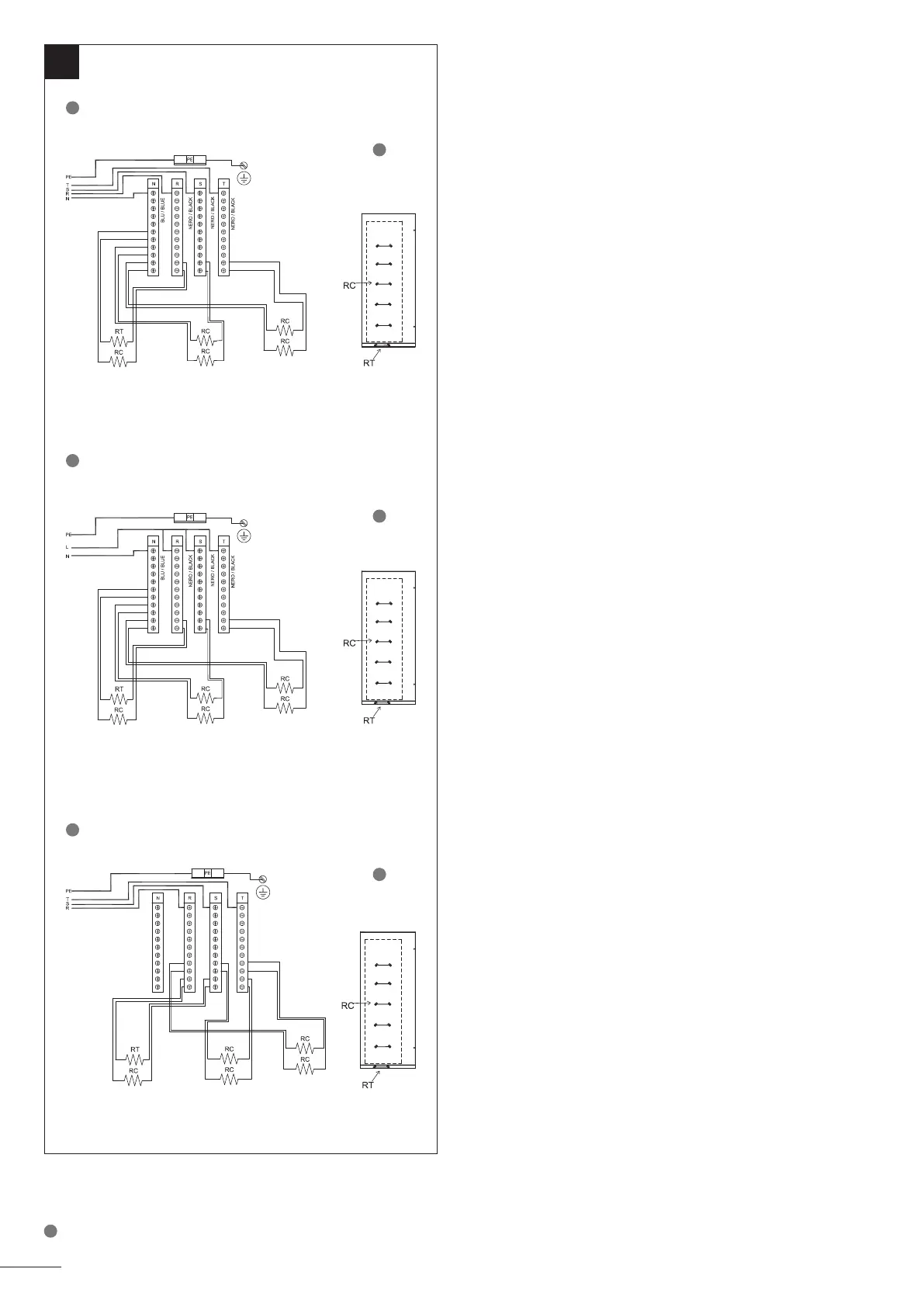
ALIMENTAZIONE ELETTRICA - POWER SUPPLY - STROMVERSORGUNG - ALIMENTACIÓN ELÉCTRICA -
ALIMENTATION ÉLECTRIQUE - ЭЛЕКТРОПИТАНИЕ
7
2
2
2
1
1
1
3PH 400V 50 HZ
1PH 230V 50 HZ
3PH 230V 50 HZ
18