EasyManua.ls Logo

stellar labs TMAX16K - Page 27

Default Icon
56 pages
Print Icon
To Next Page IconTo Next Page
To Next Page IconTo Next Page
To Previous Page IconTo Previous Page
To Previous Page IconTo Previous Page
Loading...
Stellar
®
TMAX™ Owner’s Manual | Page 19
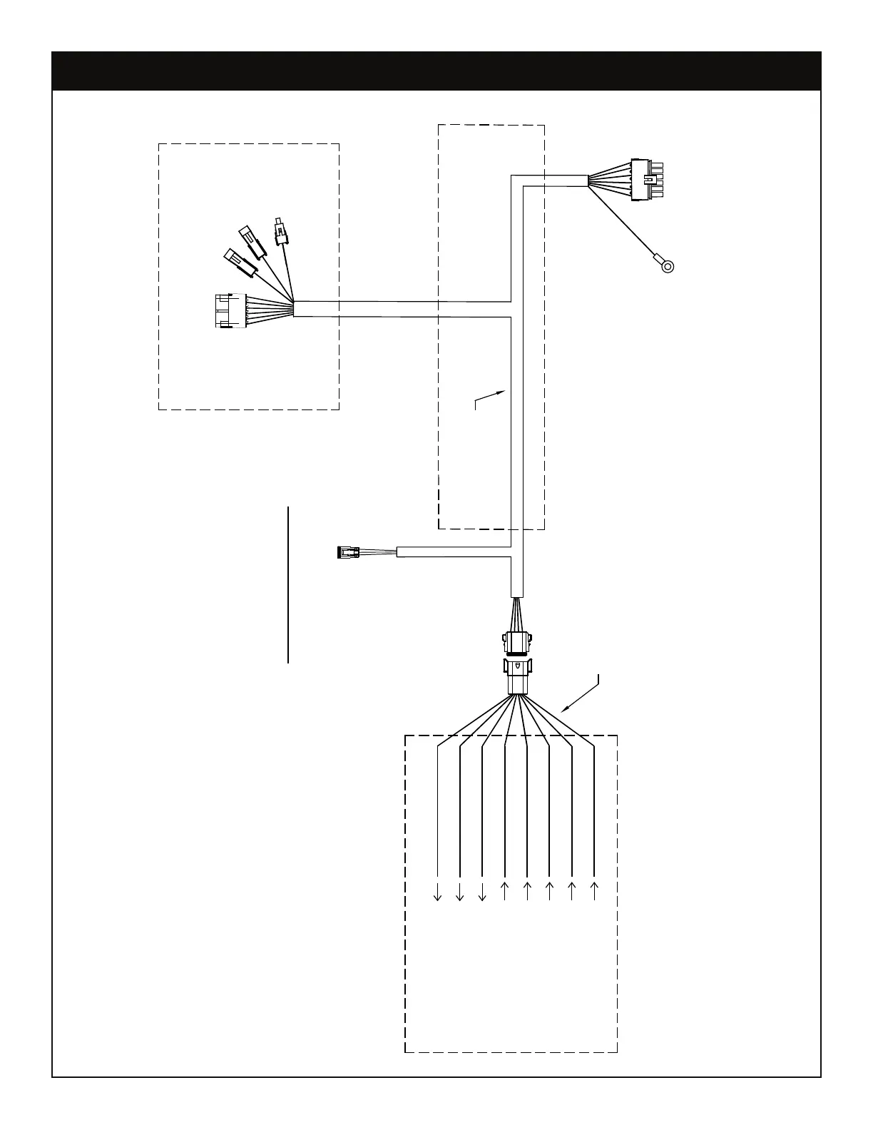
Upfitter SW Small LP or Mech W/O CPRS - 75749
C
E
D
F
B
A
-BODY/TUNNEL-
TO REAR HRNS
#
7
5
5
3
8
RMT SPD CTRL (09)
CRANE PWR (07)
ENG STOP (27)
ENG START (26)
BEACON LT (04)
COMPT LT (05)
RH FLOOD LT (03)
LH FLOOD LT (02)
SPARE ACCESORY CIRCUITS
BEACON LIGHT
LH FLOOD LIGHT
RH FLOOD LIGHT
B
A
D
C
E
F
TO CRANE HARNESS
BODY HARNESS
#95024
-
C
R
A
N
E
C
O
M
P
T
-
CHASSIS PIGTAIL
#95021
TO CHASSIS RPM
CRANE PWR SW
TO CHASSIS ENG STOP
TO CHASSIS ENG START
BEACON LT SW
COMPT LT SW
RH FLOOD LT SW
LH FLOOD LT SW
-CHASSIS INTEGRATION-
CHASSIS GND
TO FRAME STUD

Related product manuals