EasyManua.ls Logo

stellar labs TMAX16K - Page 31

Default Icon
56 pages
Print Icon
To Next Page IconTo Next Page
To Next Page IconTo Next Page
To Previous Page IconTo Previous Page
To Previous Page IconTo Previous Page
Loading...
Stellar
®
TMAX™ Owner’s Manual | Page 23
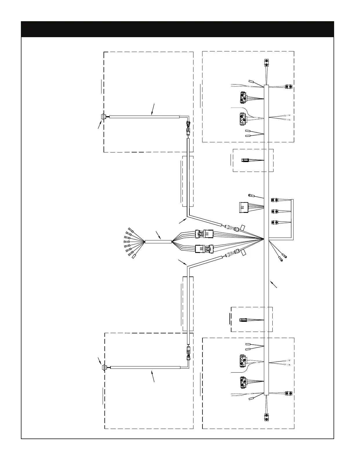
Light Package 16K Mech FMVSS Only - 120581
D
E
F
C
A
B
C
D
A
B
A
B
C
D
C
U
R
B
S
T
R
E
E
T
C
D
A
B
A
B
C
D
MARKER
LIGHTS
OPTIONAL
SURFACE MOUNT
BU ALARM
UNDER BODY
BU ALARM
OPTIONAL
FLOOD
REVERSE
TAIL/
BRAKE
GROUND
STUD
MARKER LIGHTS
IN BUMPER
LICENSE PLATE
LIGHT
TO BODY
HARNESS
36" LIGHT STRIP
#74724
36" LIGHT STRIP
#74724
*BUTT CONNECT TO
CHASSIS FACTORY
TAIL LIGHT HARNESS
MARKER LIGHT ON
FRONT OF BODY
CABLE EXT
#75721
CABLE EXT
#75721
MARKER LIGHT ON
FRONT OF BODY
REAR HARNESS
MECH V2
#75538
TAIL LIGHT
HARNESS
#85371
MARKER LT WHIP
#113838
CS TAIL LIGHT BOX
SS REAR
CS REAR
HORIZONTAL STRUCTURAL TUBE
HORIZONTAL STRUCTURAL TUBE
CURB SIDE
STREET SIDE
*PLUG LIGHT #120577 INTO THE TAIL/ BRAKE PLUG.
*BUTT CONNECT THE RED & YELLOW WIRES TO THE BODY
OPTION WIRE.
*CUT THE REVERSE WIRE (23) & 2-1 BUTT CONNECT THE GRAY
WIRE BACK INTO THE REVERSE CIRCUIT.
RED & YEL
(IN TAIL LT)
GRY
(IN TAIL LT)
MARKER
LIGHTS
OPTIONAL
FLOOD
REVERSE
TAIL/
BRAKE
SS TAIL LIGHT BOX
*PLUG LIGHT #120577 INTO THE TAIL/ BRAKE PLUG.
*BUTT CONNECT THE RED & YELLOW WIRES TO THE BODY
OPTION WIRE.
*CUT THE REVERSE WIRE (63) & 2-1 BUTT CONNECT THE GRAY
WIRE BACK INTO THE REVERSE CIRCUIT.
RED & YEL
(IN TAIL LT)
GRY
(IN TAIL LT)
NOTE:
*USE HARNESS RETAINER KIT #94545 IN THE REAR COMPARTMENTS TO FASTEN THE
REAR HARNESS
*USE LOOM CLIPS #88453 TO FASTEN SIDEPACK HARNESSES.
*USE GROMMETS IN ALL LOCATIONS WHERE HARNESSES ENTER/ EXIT THE BODY.
*FLOOD LIGHT MAX AMPERAGE PER SIDE IS 10 AMPS
*NO MORE THAN 5 AMP LOAD TO BE CONNECTED TO ANY SINGLE FLOOD LIGHT WIRE
LOCATION
MARKER LT WHIP
#113838

Related product manuals