EasyManua.ls Logo

stellar labs TMAX16K - Page 34

Default Icon
56 pages
Print Icon
To Next Page IconTo Next Page
To Next Page IconTo Next Page
To Previous Page IconTo Previous Page
To Previous Page IconTo Previous Page
Loading...
Page 26 | Stellar
®
TMAX™ Owner’s Manual
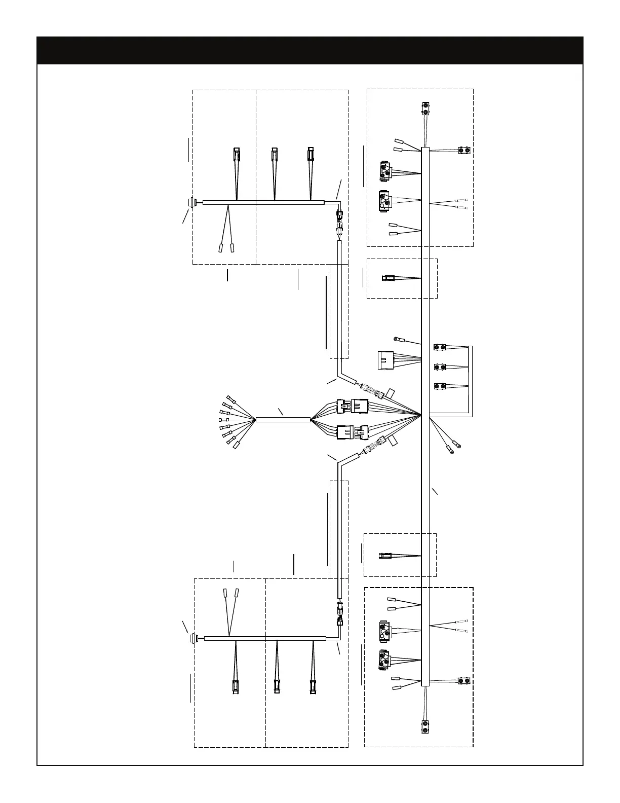
Light Kit Compt TMAX1 & 30K-9 - 93687
D
E
F
C
A
B
C
D
A
B
A
B
C
D
C
U
R
B
S
T
R
E
E
T
C
D
A
B
A
B
C
D
MARKER
LIGHTS
OPTIONAL
SURFACE MOUNT
BU ALARM
UNDER BODY
BU ALARM
OPTIONAL
FLOOD
REVERSE
STOP/
TURN/ TAIL
OPTIONAL
STROBE
GROUND
STUD
MARKER LIGHTS
IN BUMPER
MARKER
LIGHTS
OPTIONAL
STROBE
LICENSE PLATE
LIGHT
18" LIGHT STRIP
#74723
CS HORIZ
36" LIGHT STRIP
#74724
36" LIGHT STRIP
#74724
36" LIGHT STRIP
#74724
36" LIGHT STRIP
#74724
18" LIGHT STRIP
#74723
18" LIGHT STRIP
#74723
*BUTT CONNECT TO
CHASSIS FACTORY
TAIL LIGHT HARNESS
MARKER LIGHT ON
FRONT OF BODY
CABLE EXT
#75721
CABLE EXT
#75721
MARKER LIGHT ON
FRONT OF BODY
REAR HARNESS
MECH V2
#75538
TAIL LIGHT
HARNESS
#85371
OPTIONAL
FLOOD LIGHT
SIDE PACK HARNESS
#93686
SIDE PACK HARNESS
#93686
SS TAIL LIGHT BOX
CS TAIL LIGHT BOX
OPTIONAL
FLOOD LIGHT
SS REAR
CS REAR
HORIZONTAL STRUCTURAL TUBE
CS1V
STOP/
TURN/ TAIL
REVERSE
OPTIONAL
FLOOD
SS HORIZ
SS1V
HORIZONTAL STRUCTURAL TUBE
CURB SIDE
STREET SIDE
18" LIGHT STRIP
#74723
NOTE:
*USE HARNESS RETAINER KIT #94545 IN THE REAR COMPARTMENTS TO FASTEN THE
REAR HARNESS
*USE LOOM CLIPS #88453 TO FASTEN SIDEPACK HARNESSES.
*USE GROMMETS IN ALL LOCATIONS WHERE HARNESSES ENTER/ EXIT THE BODY.
*FLOOD LIGHT MAX AMPERAGE PER SIDE IS 10 AMPS
*NO MORE THAN 5 AMP LOAD TO BE CONNECTED TO ANY SINGLE FLOOD LIGHT WIRE
LOCATION
TO BODY
HARNESS

Related product manuals