EasyManua.ls Logo

stellar labs TMAX16K - Page 40

Default Icon
56 pages
Print Icon
To Next Page IconTo Next Page
To Next Page IconTo Next Page
To Previous Page IconTo Previous Page
To Previous Page IconTo Previous Page
Loading...
Page 32 | Stellar
®
TMAX™ Owner’s Manual
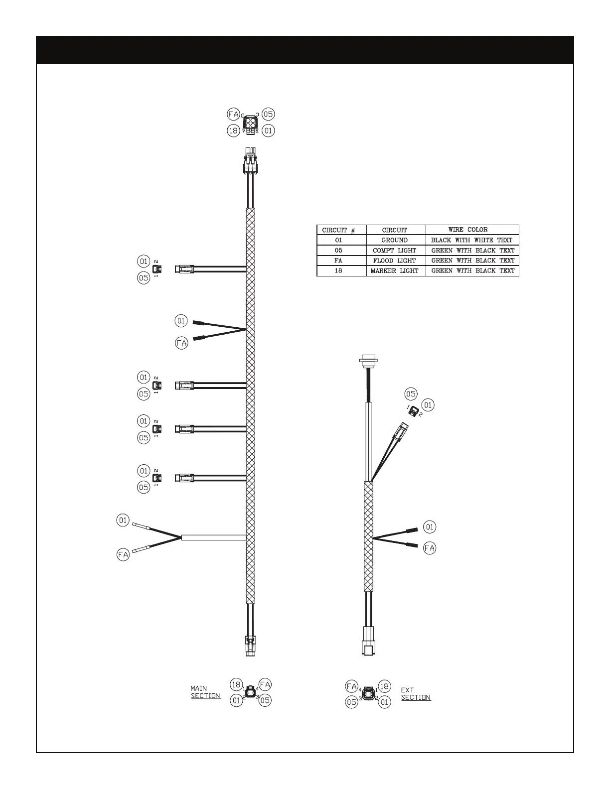
Wiring Harness: Side Pack (Both Sides) - PN 74722
PN 74722

Related product manuals