EasyManua.ls Logo

Steltronic API A065 Series - Page 11

Steltronic API A065 Series
29 pages
Print Icon
To Next Page IconTo Next Page
To Next Page IconTo Next Page
To Previous Page IconTo Previous Page
To Previous Page IconTo Previous Page
Loading...
API A065 series Interfacing Via bowling (MC2)/Switch pinsetters
11
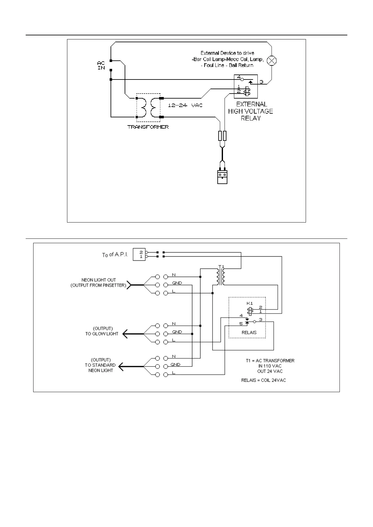
SAMPLE DIAGRAM FOR MECHANIC AND BAR CALL LIGHT CONNECTION
Example of High voltage connection
SAMPLE DIAGRAM FOR INSTANT GLOW CONNECTION