EasyManua.ls Logo

Stihl EVC 7000 - Page 137

Stihl EVC 7000
200 pages
Go to English
To Next Page IconTo Next Page
To Next Page IconTo Next Page
To Previous Page IconTo Previous Page
To Previous Page IconTo Previous Page
Loading...
STIHL rekomandon të përdoret gjithnjë benzinë
e re marke dhe kurrë përzierje dytaktëshe
(benzinë plus aditiv).
Mos e rimbushni me benzinë të vjetër apo të
ndotur.
Shmangni ndotjen e përmbajtjes së serbatorit me
papastërtira dhe ujë.
Përdorni vetëm benzinë të miratuar (jo E85).
Ndërrojeni markën e benzinës në rast se vëreni
zhurma trokitëse apo tingëlluese.
Nëse është nevoja kontaktoni me shitësit e
specializuar, STIHL rekomandon shitësit e
specializuar për STIHL.
5.2 Mbushja me vaj motori
Vaji i motorit vajos dhe ftoh motorin.
KUJDES
Motori dorëzohet pa vaj motori.
Mbajtja me më shumë apo më pak vaj se niveli i
lejuar mund ta dëmtojë motorin.
Mbusheni vajin e motorit përpara vënies së
parë në punë.
Vendoseni pajisjen STIHL në një sipërfaqe të
rrafshët.
Fikeni motorin.
Zhvidhosni shufrën e vajit (1).
Rimbusheni vajin e motorit me një hinkë të
përshtatshme deri sa të arrihet niveli maksimal
(2).
Kapaciteti për vajin është:
Për mbushjen e parë: 1,7 litra
Për ndërrimin e vajit: 1,6 litra
Vidhosni shufrën e vajit (1).
Kontrolloni nivelin e vajit të motorit përpara
çdo ndezjeje. 7.2. Nëse është nevoja,
rimbusheni vajin e motorit.
Motori është projektuar për vajrat standardë të
motorëve me 4 takte.
Përdorni vajra motori të kategorive SF, SG,
SH, SJ e lart.
STIHL rekomandon përdorimin e vajrave të
motorit si më poshtë:
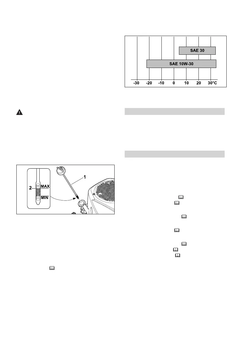
SAE 30
SAE 10W-30
Përshtateni tipin e vajit sipas temperaturës së
jashtme në rajonet e përdorimit të pajisjes
STIHL:
Përdorimi në temperatura mbi 4°C: SAE 30
Përdorimi në temperatura nën 4°C: SAE 10W-30
6 Pastrimi
6.1 Pastrimi i motorit
Fikeni motorin.
Lëreni motorin të ftohet.
Pastrojeni motorin me një leckë të njomë.
Pastrojini vrimat e ajrimit me furçë.
7 Mirëmbajtja
7.1 Mirëmbajtja
Intervalet e mirëmbajtjes varen nga kushtet e
mjedisit dhe të punës. STIHL rekomandon
intervalet e mëposhtme të mirëmbajtjes:
Përpara çdo përdorimi:
Kontrolli i nivelit të vajit,
7.2.
Kontrolli i filtrit të ajrit, 7.3.
Pas muajit të parë ose pas 5 orësh pune:
Ndërrimi i vajit të motorit,
7.6.
Çdo 3 muaj ose pas 25 orësh pune:
Pastrimi i filtrit të ajrit,
7.4.
Çdo 12 muaj ose pas 100 orësh pune:
Ndërrimi i vajit të motorit,
7.6.
Kontrolli i kandelave, 7.5.
Ndërrimi i filtrit të ajrit, 7.3.
Ndërroni filtrin e karburantit. STIHL
rekomandon shitësit e STIHL.
Ndërroni filtrin e vajit. STIHL rekomandon
shitësit e STIHL.
Kryeni inspektim nga shitësi i specializuar.
STIHL rekomandon shitësit e STIHL.
Çdo 24 muaj ose pas 200 orësh pune:
Kontrolloni pastërtinë e valvulës. STIHL
rekomandon shitësit e STIHL.
6 Pastrimi Shqip
0478-983-9914-B 137

Table of Contents

Related product manuals