EasyManua.ls Logo

Stihl RT 4097 S - Sprawdzanie Pozycji Montażu Zespołu Tnącego

Stihl RT 4097 S
310 pages
Print Icon
To Next Page IconTo Next Page
To Next Page IconTo Next Page
To Previous Page IconTo Previous Page
To Previous Page IconTo Previous Page
Loading...
289
ENNOSVFIDA PL
0478 192 9810 A - PL
Należy zachować kąt ostrzenia
wynoszący 30°.
Podczas ostrzenia nie przekraczać
granicy zużycia.
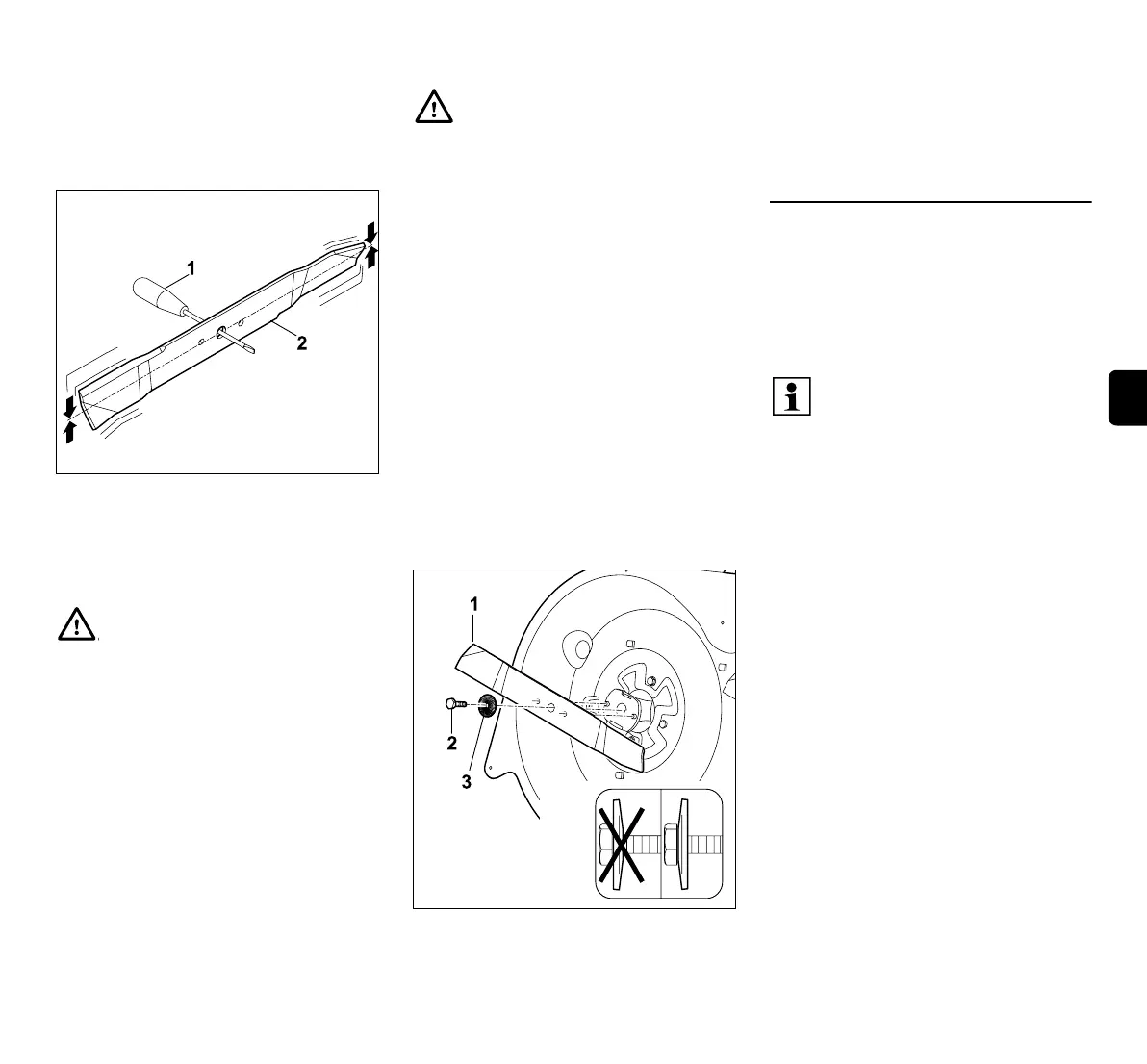
Sprawdzanie wyważenia noża kosiarki:
Wkrętak (1) przełożyć przez otwór
środkowy.
Jeżeli nóż kosiarki (2) jest prawidłowo
wyważony, powinien ustawić się w pozycji
pokazanej na rysunku.
Montaż noża kosiarki
Noże kosiarki należy zakładać przy
uwzględnieniu następujących wskazówek:
ż należy zamontować w taki sposób,
aby odgięte łopatki noża były
skierowane do góry (w stronę zespołu
tnącego).
Założyćż kosiarki (1) i wkręcić oraz
dokręcić śrubę noża (2 – posmarować
preparatem Loctite 243) z podkładką
zabezpieczającą (3 – zwrócić uwagę na
wypukłość podkładki).
Moment dokręcania: 65 - 70 Nm
14.7 Sprawdzanie pozycji montażu
zespołu tnącego
Okresy międzyobsługowe:
Co 50 godzin pracy lub w razie potrzeby
(np. po silnych uderzeniach w zespół tnący
lub w przypadku nierównego koszenia).
Zespół tnący znajduje się w prawidłowej
pozycji montażu, gdy jest nieco pochylony
do przodu – przednia część znajduje się
nieco niżej niż część tylna.
Ustawić urządzenie na płaskim
podłożu.
Wyłączyć silnik spalinowy. (Ö 12.3)
Zaciągnąć hamulec postojowy.
(Ö 8.12)
Wyciągnąć kluczyk zapłonu i
przechowywać go w bezpiecznym
miejscu.
Ustawić najniższą wysokość koszenia.
(Ö 8.13)
Niebezpieczeństwo zranienia!
Jeżeli nóż kosiarki nie jest
wyważony, należy powtarzać
czynności opisane w punkcie
„Ostrzenie noża kosiarki”, ażż
zostanie wyważony.
ż kosiarki można wyważać tylko
poprzez zeszlifowanie ostrzy.
Niebezpieczeństwo zranienia!
Przed zamontowaniem należy
sprawdzić, czy noże tnące nie są
uszkodzone (karby lub pęknięcia)
lub zużyte.
Zużyte lub uszkodzone noże należy
wymienić.
Wymienić podkładkę
zabezpieczającą podczas każdego
montażu noża.
Zabezpieczyć śrubę noża
dodatkowo preparatem Loctite 243
i dokręcić wymaganym momentem,
ponieważ od tego zależy
niezawodne mocowanie narzędzia
tnącego.
Jednakowe ciśnienie w oponach
jest warunkiem sprawdzania
prawidłowej pozycji montażu.
Dlatego przed kontrolą pozycji
montażu należy sprawdzić
ciśnienie we wszystkich oponach i
w razie potrzeby wyrównać.
(Ö 14.9)

Table of Contents

Related product manuals