EasyManua.ls Logo

Stow MS-93 - Page 62

Default Icon
94 pages
Print Icon
To Next Page IconTo Next Page
To Next Page IconTo Next Page
To Previous Page IconTo Previous Page
To Previous Page IconTo Previous Page
Loading...
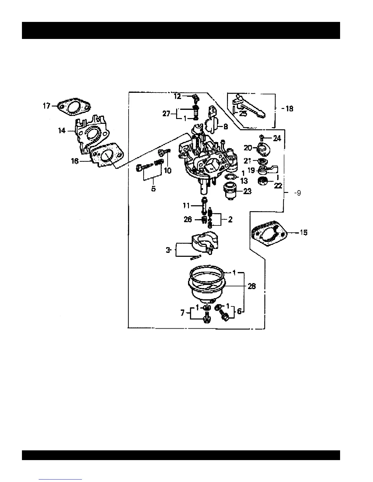
PAGE 62 — STOW MS-93 MIXER — OPERATION MANUAL — REV. #5 (03/26/10)
HONDA GX240K1HA2 ENGINE — CARBURETOR ASSY.
CARBURETOR ASSY.