EasyManua.ls Logo

Supore LE-400 - DEBUGGING

Default Icon
27 pages
Print Icon
To Next Page IconTo Next Page
To Next Page IconTo Next Page
To Previous Page IconTo Previous Page
To Previous Page IconTo Previous Page
Loading...
9
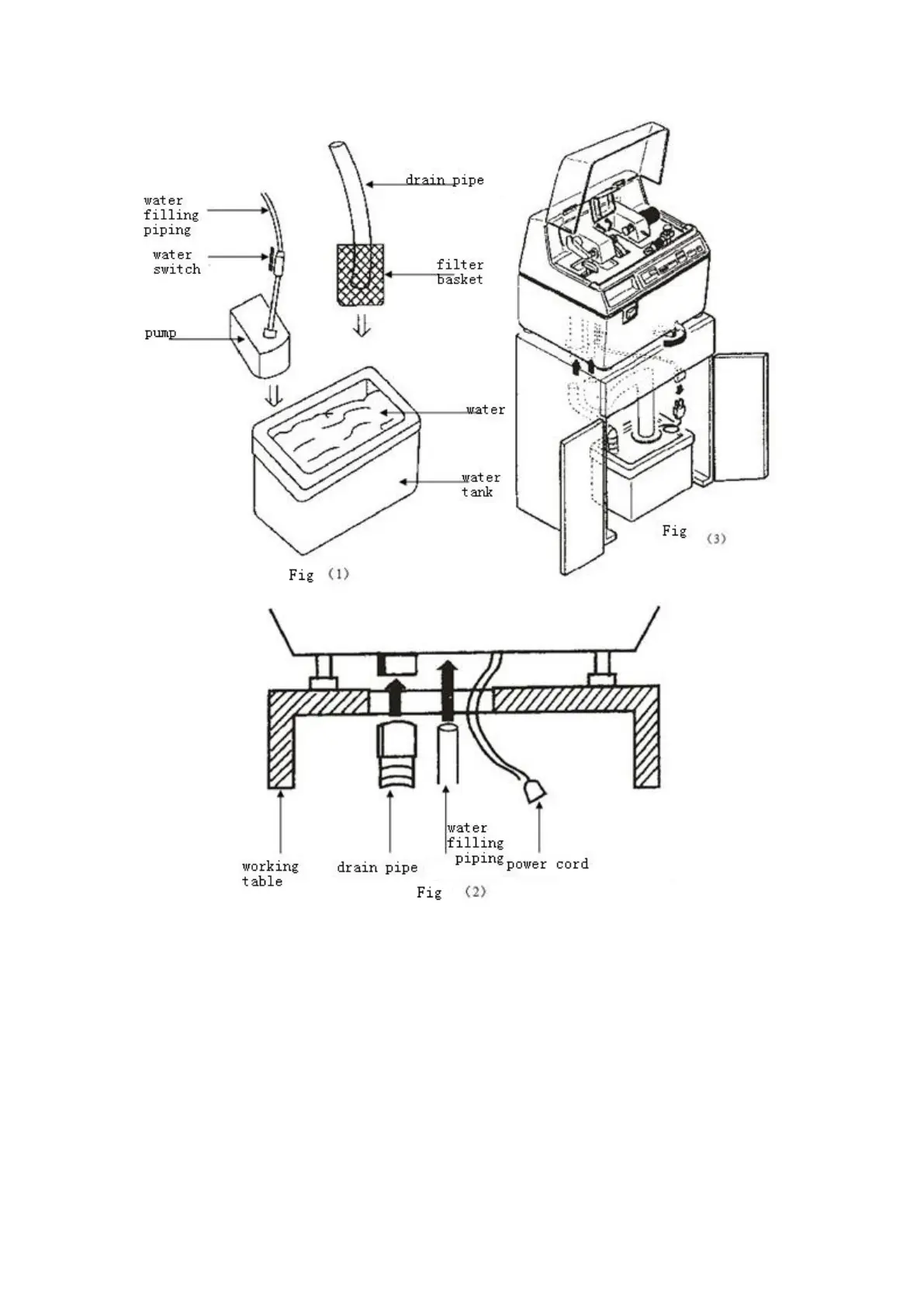
a.Assemble the tank as illustrated.(see Fig 1)
b.Connect drain pipe as in Fig2
c.Show as Fig3 after installion.
please pay attention:
a.the filter basket should be cleaned regularly
b.water in tank should be changed frequently

Related product manuals