EasyManua.ls Logo

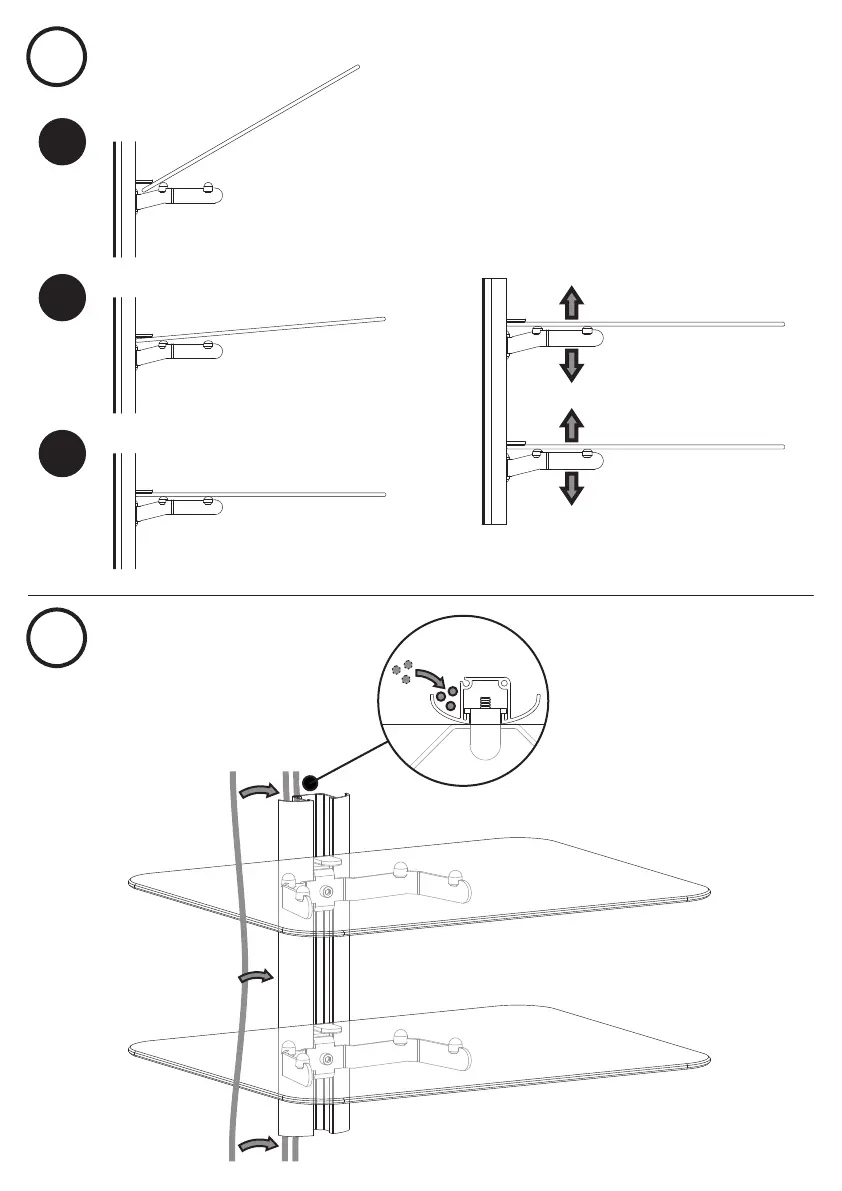
Swift Mount SWIFT250AVS - Shelf Height Adjustment

Default Icon
8 pages
Print Icon
To Next Page IconTo Next Page
To Next Page IconTo Next Page
To Previous Page IconTo Previous Page
To Previous Page IconTo Previous Page
Loading...
4
iii
ii
i
adjustable / ajustables / ajustable
5

Related product manuals