EasyManua.ls Logo

SybronEndo Elements - Page 44

SybronEndo Elements
110 pages
Print Icon
To Next Page IconTo Next Page
To Next Page IconTo Next Page
To Previous Page IconTo Previous Page
To Previous Page IconTo Previous Page
Loading...
49


elements
TM
obturation unit

   



1
. . 
2 .   

    
 




  

5


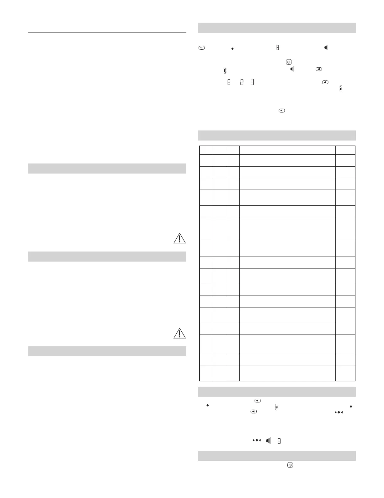
 123
1


2


3


4



15
5


6

105

5

10

7



8


9



10


11


12

System B

13

System B
14


Extruder

15

. System B
16


. System B

 
  

2 
 



  
           

   

. 

Buchananelements
TM
obturation system
System B









     












TM

elements
TM




. CavicideSybronEndo





System B Handpieces



           
. CaviCideSybronEndo





 


. System B Handpiece 


30






Related product manuals