EasyManua.ls Logo

Sylvania SRC124 - Cassette Tape Handling and Care; Cassette Tape Handling; Head Cleaning Procedure

Sylvania SRC124
9 pages
Print Icon
To Next Page IconTo Next Page
To Next Page IconTo Next Page
To Previous Page IconTo Previous Page
To Previous Page IconTo Previous Page
Loading...
E-7
If later you do wish to record on side A of the cassette, cover the tab opening with
a piece of cellophane tape. This will allow the Record
to function again.
CASSETTE CARE
Two common causes of trouble experienced when using cassettes are:
1) Tape Jamming – Leading to uneven speed in playback, and
2) Tape Tangling – Where the tape wraps itself around ital parts of the
mechanism.
To reduce the likelihood of these problems occurring, the following precautions
should be observed:
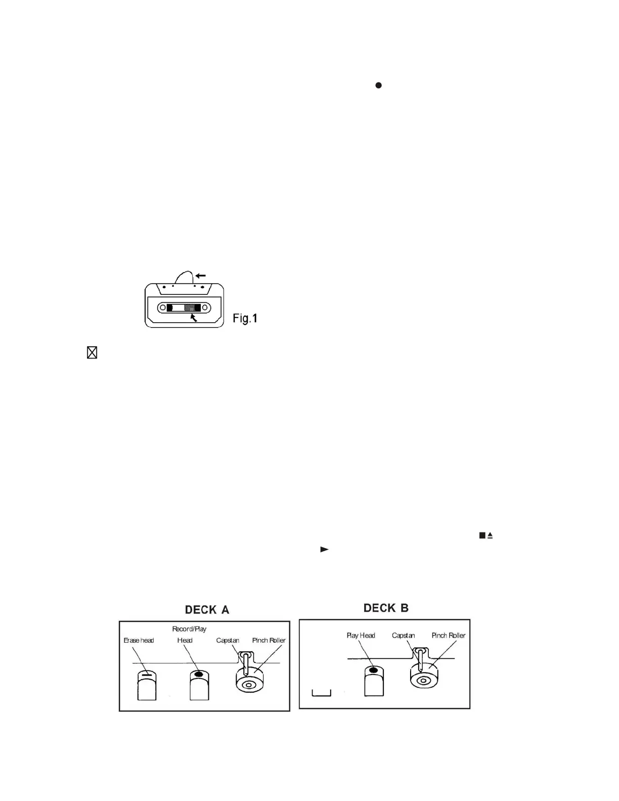
Check that there are no loose layers of tape visible through the cassette center window
(see Fig. 1). Take up any loose layers, using a pencil or hexagonal barrelled ballpoint
pen, before inserting the cassette into the machine (see Fig.2)
If the cassette feels tight while performing operation shown (see Fig.2), the tape
may be jamming due to ridges formed in the winding of the tape (visible through
the center window). These may be removed, in most cases, by fast winding of
the cassette from one end to the other and back again.
Use only well-known brands of tape. Avoid use of C-120 cassettes.
Furthermore, do not expose cassettes to direct sunlight, dust or oil, and do not
touch the tape surfaces.
HEAD CLEANING
The tape heads, pinch roller and capstan require periodic cleaning. This removes
particles of the metal oxide coating that wear off the tape and accumulate on these
parts and impair performance. Switch off the power, press the Stop/Eject
key to
open the cassette door, and press the Play
key. Clean the tape heads, pinch
roller and capstan with a soft cloth or cotton pad dampened in isopropyl alcohol or
special tape head cleaner.

Related product manuals