EasyManua.ls Logo

System Cleaners MS1-10 - Page 4

System Cleaners MS1-10
71 pages
Print Icon
To Next Page IconTo Next Page
To Next Page IconTo Next Page
To Previous Page IconTo Previous Page
To Previous Page IconTo Previous Page
Loading...
Version 1 (03.2020. EN) (MS1-10, MSC1-10)
Page 4 of 71
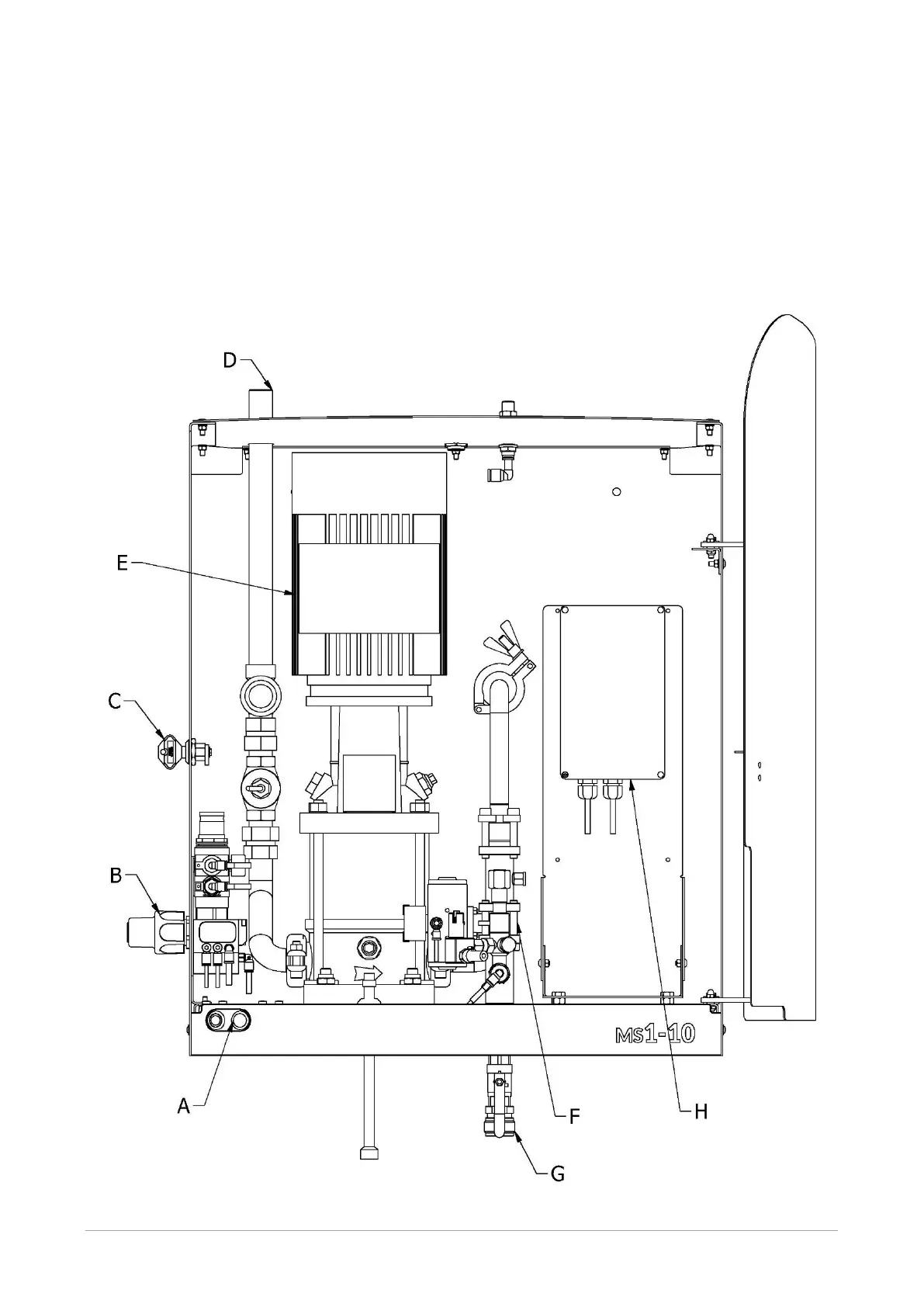
Main station (MS1-10/MSC1-10)
A main station has a built-in pump, a built-in satellite, a built-in compressor (depending on model) and is connected to
electrical power, water mains, a number of chemicals and compressed air (depending on model). It supplies
pressurized water to the built-in satellite.
With the built-in satellite it is possible for one operator to rinse, foam or disinfect (depending on model).
MS1-10 120 V