EasyManua.ls Logo

System Cleaners MS1-10 - Page 5

System Cleaners MS1-10
71 pages
Print Icon
To Next Page IconTo Next Page
To Next Page IconTo Next Page
To Previous Page IconTo Previous Page
To Previous Page IconTo Previous Page
Loading...
Version 1 (03.2020. EN) (MS1-10, MSC1-10)
Page 5 of 71
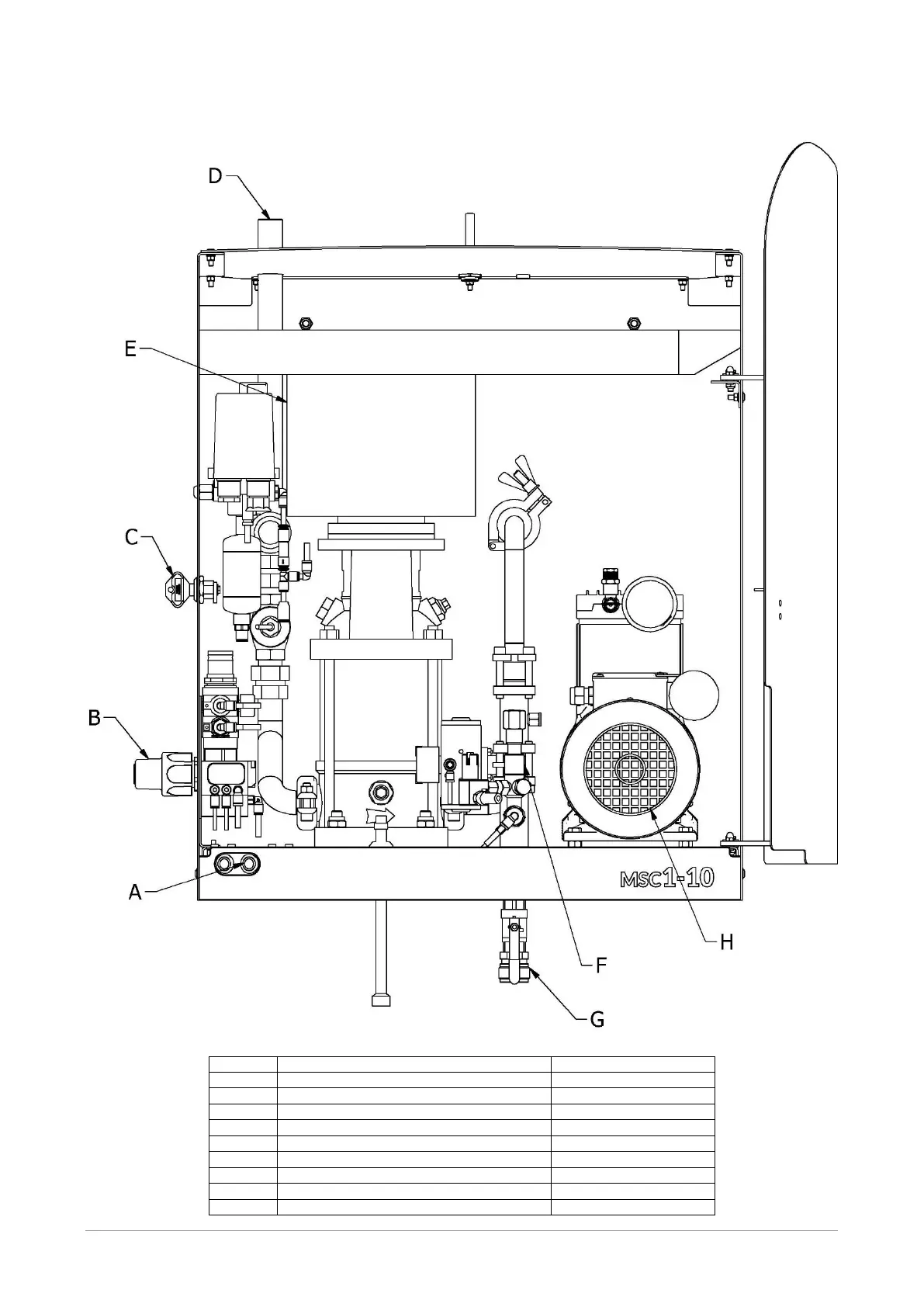
MS1-10 230V
Pos.
Description
Model
A
Start/Stop
All
B
Selector switch
All
C
Key
All
D
Inlet water
All
E
Pump
All
F
Injector system
All
G
Outlet
All
H
Electrical control
120 V
H
Compressor
MSC1-10 230 V