EasyManua.ls Logo

Teac MT-20D-IO - Page 72

Teac MT-20D-IO
253 pages
Print Icon
To Next Page IconTo Next Page
To Next Page IconTo Next Page
To Previous Page IconTo Previous Page
To Previous Page IconTo Previous Page
Loading...
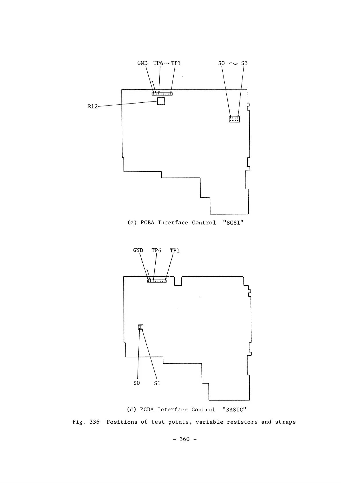
GND
TP6-
TPI
so
~
S3
Rl2---+---·
(c)
PCBA
Interface
Control
"SCSI"
GND
TP6
TPI
SO
Sl
Cd)
PCBA
Interface
Control
"BASIC"
Fig.
336
Positions
of
test
points,
variable
resistors
and
straps
-
360
-