EasyManua.ls Logo

TECALEMIT TEC 4000 - Page 15

Default Icon
24 pages
Print Icon
To Next Page IconTo Next Page
To Next Page IconTo Next Page
To Previous Page IconTo Previous Page
To Previous Page IconTo Previous Page
Loading...
84B
84
A
75
73
74
75
73
74
75
73
74
79
77
78
83
75
73
74
67
82
66
81
80
68
77
74
73
75
76
76
75
74
73
75
78
79
84D
84C
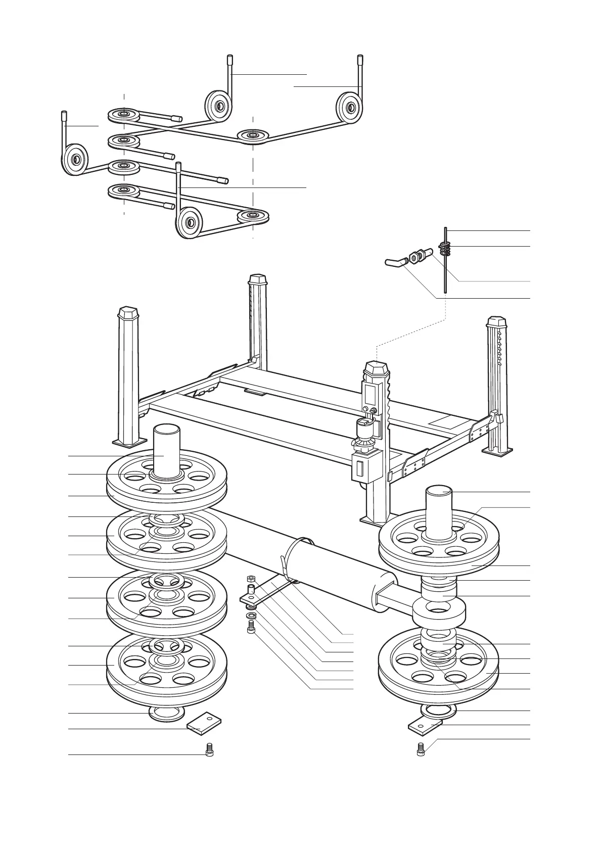
Ropes Detail
B (69)
D (72)
C (70)
A (71)
FIG. 2
Page 14

Related product manuals