EasyManua.ls Logo

Technics SX-PR603 - Page 83

Technics SX-PR603
125 pages
Print Icon
To Next Page IconTo Next Page
To Next Page IconTo Next Page
To Previous Page IconTo Previous Page
To Previous Page IconTo Previous Page
Loading...
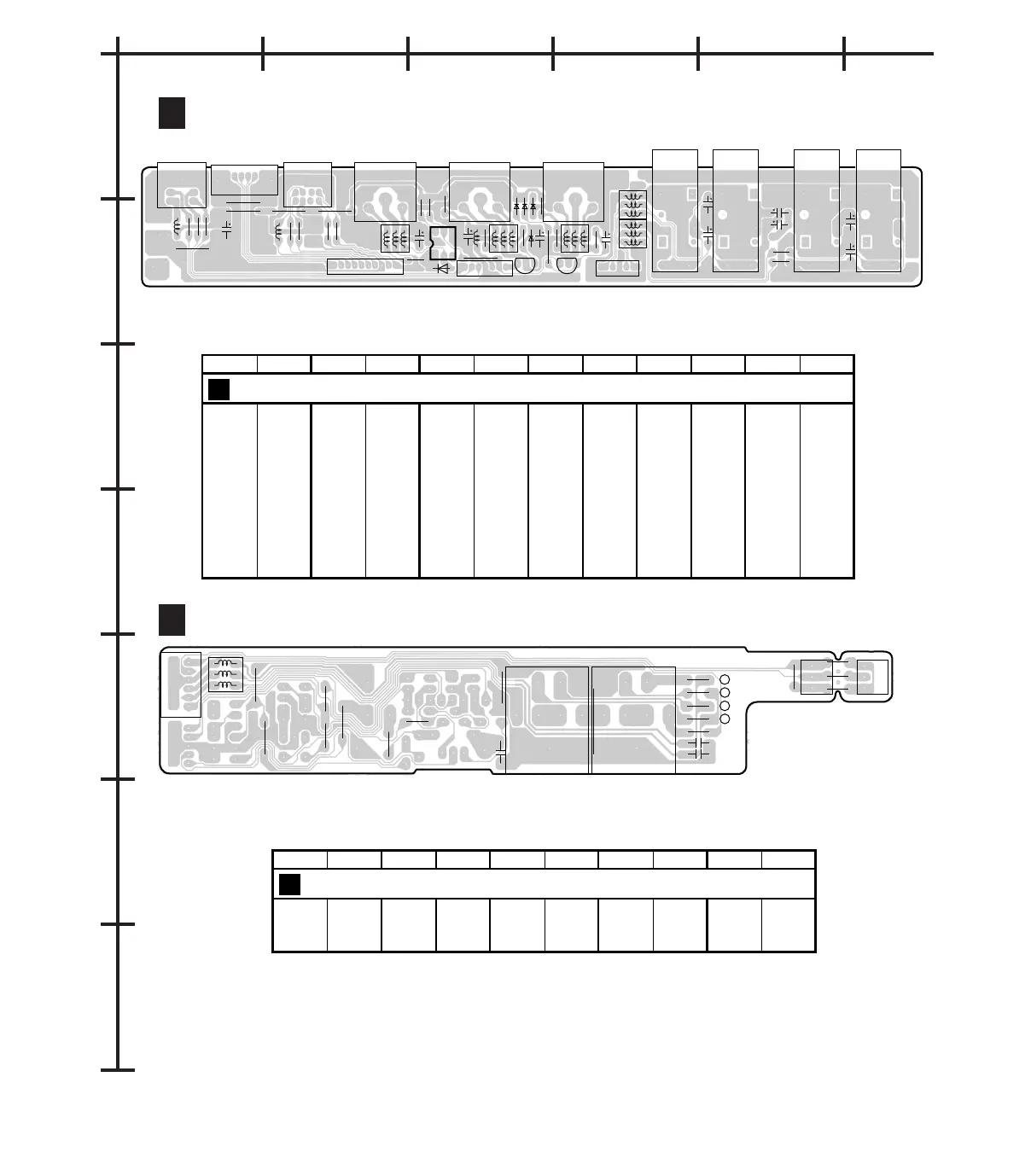
JACK P.C.B.
J
JACK2 P.C.B.
K
A
1
2
3
4
5
6
B
C
D E F
7
JK1
C1
SW1
J2
J1
J3
L10
J4
J5
CN3
L5
J6
J9
J7
101
D5
IC1
CN2
17
L6
D3D1D2
D4
J10
J11
L7
L8
L9
CN1
51
Q1Q2
JK3
JK4
JK5
JK2
13
64
JK6
JK7
JK8
JK9
L1
J1
1
6
CN2
J4
J2
J3
J6
J7
J8
J9
JK2
J5
JK1
J10
J11
3
1
CN1
J12
J13
J14
3
1
CN4
L21
R17
R16
R15
R10
R11
R13
R14
C4
R6
R5
C5
R3
L14
R4
C3
R1
R2
C2
C6
C7
C8
C9
R7
R8
C10
C11
C3
R3
F
R4
F
R1
F
R2
F
C1
C2
(SXPG229911)
(SXPG229711B)
ELECTRICAL PARTS LOCATION
Ref.No. Lo.No. Ref.No. Lo.No. Ref.No. Lo.No. Ref.No. Lo.No. Ref.No. Lo.No. Ref.No. Lo.No.
JACK P.C.B.
IC1 C-2 CN3 B-2 R2 D-2 R14 B-2 C7 E-2 JK6 D-1
Q1 D-2 L5 B-2 R3 C-2 R15 A-2 C8 E-2 JK7 E-1
Q2 C-2 L6 C-2 R4 C-2 R16 A-2 C9 E-2 JK8 E-1
D1 C-1 L7 D-2 R5 C-2 R17 A-2 C10 F-2 JK9 F-1
D2 C-1 L8 D-1 R6 C-2 C1 A-2 C11 F-2 SW1 A-1
D3 D-1 L9 D-2 R7 E-2 C2 D-2 JK1 A-1
D4 C-2 L10 B-2 R8 E-2 C3 C-2 JK2 B-1
D5 C-2 L14 C-2 R10 B-2 C4 C-2 JK3 B-1
CN1 D-2 L21 A-2 R11 B-2 C5 C-2 JK4 C-1
CN2 C-2 R1 D-2 R13 B-2 C6 E-2 JK5 D-1
J
ELECTRICAL PARTS LOCATION
Ref.No. Lo.No. Ref.No. Lo.No. Ref.No. Lo.No. Ref.No. Lo.No. Ref.No. Lo.No.
JACK2 P.C.B.
CN1 E-5 L1 A-5 R3 E-5 C2 E-5 JK2 C-5
CN2A-5R1E-5R4E-5C3C-5
CN4 F-5 R2 E-5 C1 E-5 JK1 D-5
K

Related product manuals