EasyManua.ls Logo

TEKNIX TBD606 - Page 22

TEKNIX TBD606
54 pages
Print Icon
To Next Page IconTo Next Page
To Next Page IconTo Next Page
To Previous Page IconTo Previous Page
To Previous Page IconTo Previous Page
Loading...
Step 2. Aesthetic panel's dimensions and installation
2. If dishwasher is in stalled at the corner of the cabinet,
there should be some space when the door is opened.
CabinetDishwasher
Door of
dishwasher
Minimum space
of 50mm
NOTE:
Depending on where your electrical outlet is, you may need to cut a hole in the
opposite cabinet side.
22
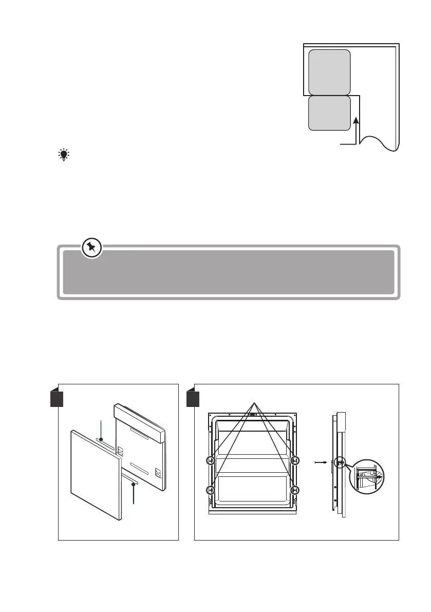
The aesthetic wooden panel could be processed according to the
installation drawings.
The aesthetic wooden panel could be processed according to the
installation drawings.
Magical paster A and magical paster B be disjoinedon ,magical paster A on the
aesthetic wooden panel and felted magical paster B of the outer door of dishwasher
(see figure A). After positioning of the panel , fix the panel onto the outer door by
screws and bolts (See figure B) .
Semi-integrated model
B
2.Pin up the four long screws
1.Take away the four short screws
A
Magical paster
Magical paster

Related product manuals