EasyManua.ls Logo

tekton 6519 - Bend Layout Example

tekton 6519
4 pages
Print Icon
To Next Page IconTo Next Page
To Next Page IconTo Next Page
To Previous Page IconTo Previous Page
To Previous Page IconTo Previous Page
Loading...
Directional
marks
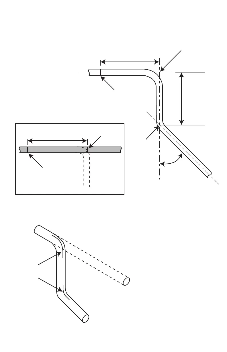
BEND LAYOUT EXAMPLE
page 2
45˚
5"
5"
Reference
mark
Vertex
Vertex
FIG. 1
5"
Reference
mark
Bend
mark
FIG. 1B
FIG. 2
To measure tubing for
bending, use the center line
of the tubing as shown.
When establishing first
measurement, make a
REFERENCE mark for the
starting point of
measurement. In the
example shown, a distance
of 5" is desired between
reference mark and 90˚
bend. Make a BEND mark at
5". Proceed to page 2 for
bending procedure.
To make sure bends are made along
the desired axis, mark the centerline
on tubing before bending.