EasyManua.ls Logo

tekton 6519 - Common Bend

tekton 6519
4 pages
Print Icon
To Next Page IconTo Next Page
To Next Page IconTo Next Page
To Previous Page IconTo Previous Page
To Previous Page IconTo Previous Page
Loading...
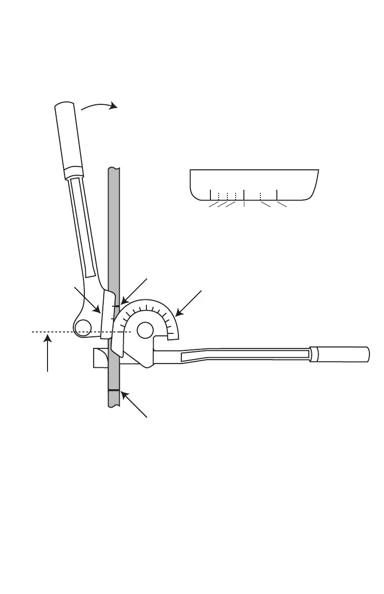
COMMON BEND
(Shown aligned for a 90˚ bend)
page 3
Reference
mark
R
L
0
0
0
4
5
9
0
13
5
18
0
Bend
mark
Align “0” marks
on roll guide and
bending die
Bending
die
Roll
guide
FIG. 3
Align the bend mark with the mark on the roll
guide that corresponds to the bend angle.
(Dashed lines indicate estimated positions.)
0
R
L
90˚75˚60˚45˚30˚15˚
FIG. 3B
BEND
For common bending, open arms of tubing bender to position shown above. Insert tubing
into correct size channel. Align "0" mark on roll guide with "0" mark on bending die. For a
90˚ bend, align the BEND mark made earlier with the "L" line on roll guide (for other angles
less than 90˚, BEND mark must be adjusted to a different alignment on roll guide - see Fig.
3B). Note that the REFERENCE mark is below the tubing bender. Holding both handles of
tubing bender, draw them together with a slow, steady motion to create bend. Bend is
complete when "0" mark on roll guide is aligned with the desired angle mark on bending
die. Release handles. Tubing may naturally try to spring back against the bend resulting in an
angle less than desired. Check bend on an angle template or protractor to verify.