EasyManua.ls Logo

Tektronix KEITHLEY 7700 - Connection Log

Tektronix KEITHLEY 7700
14 pages
To Next Page IconTo Next Page
To Next Page IconTo Next Page
To Previous Page IconTo Previous Page
To Previous Page IconTo Previous Page
Loading...
Model 7700 Multiplexer Module Instructions for use with 2750
10 077182400 July 2023
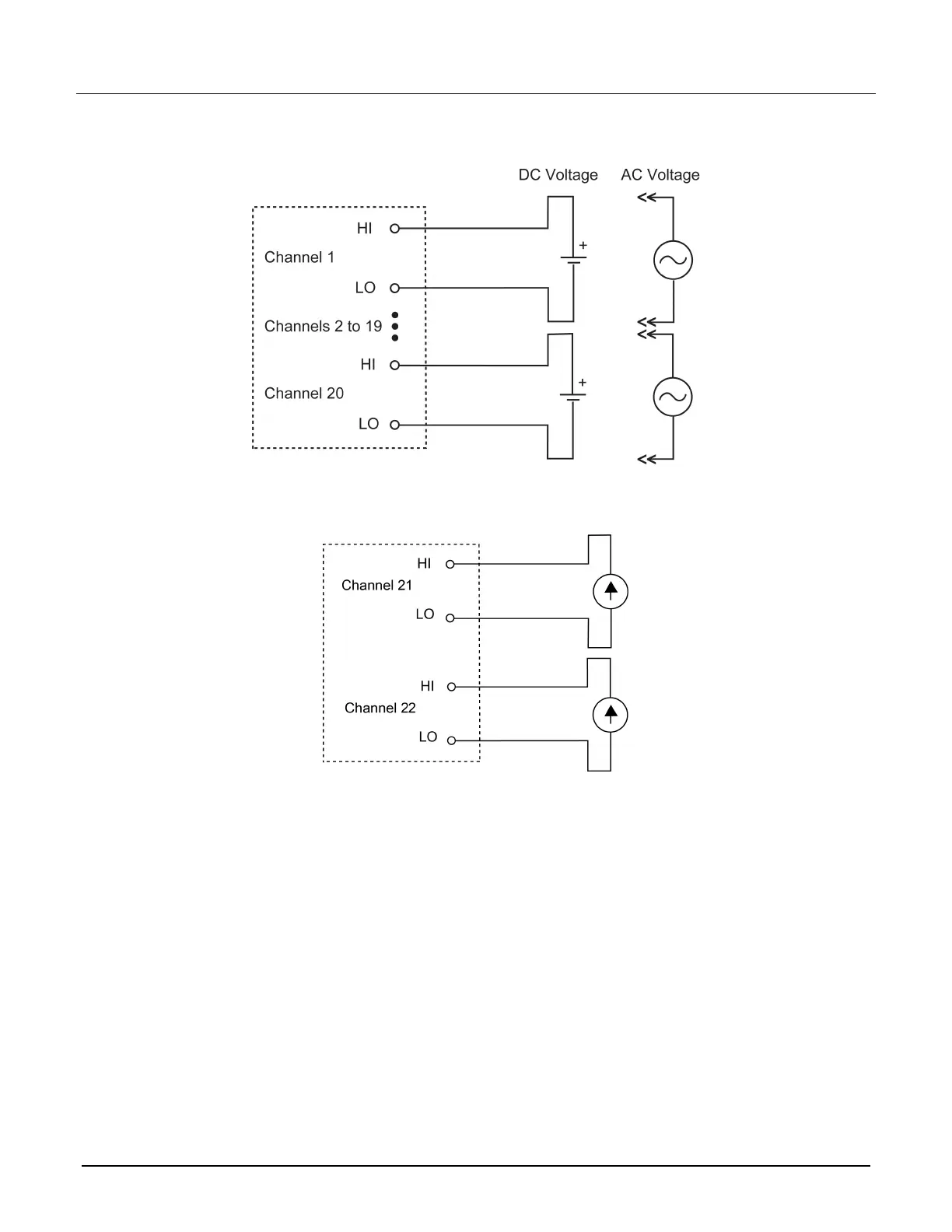
Figure 9: DC or AC voltage connections
Figure 10: AC or DC current connections
Connection log
You can use the following table to record your connection information.

Other manuals for Tektronix KEITHLEY 7700