EasyManua.ls Logo

Telemark 379 - Page 18

Default Icon
18 pages
Print Icon
To Previous Page IconTo Previous Page
To Previous Page IconTo Previous Page
Loading...
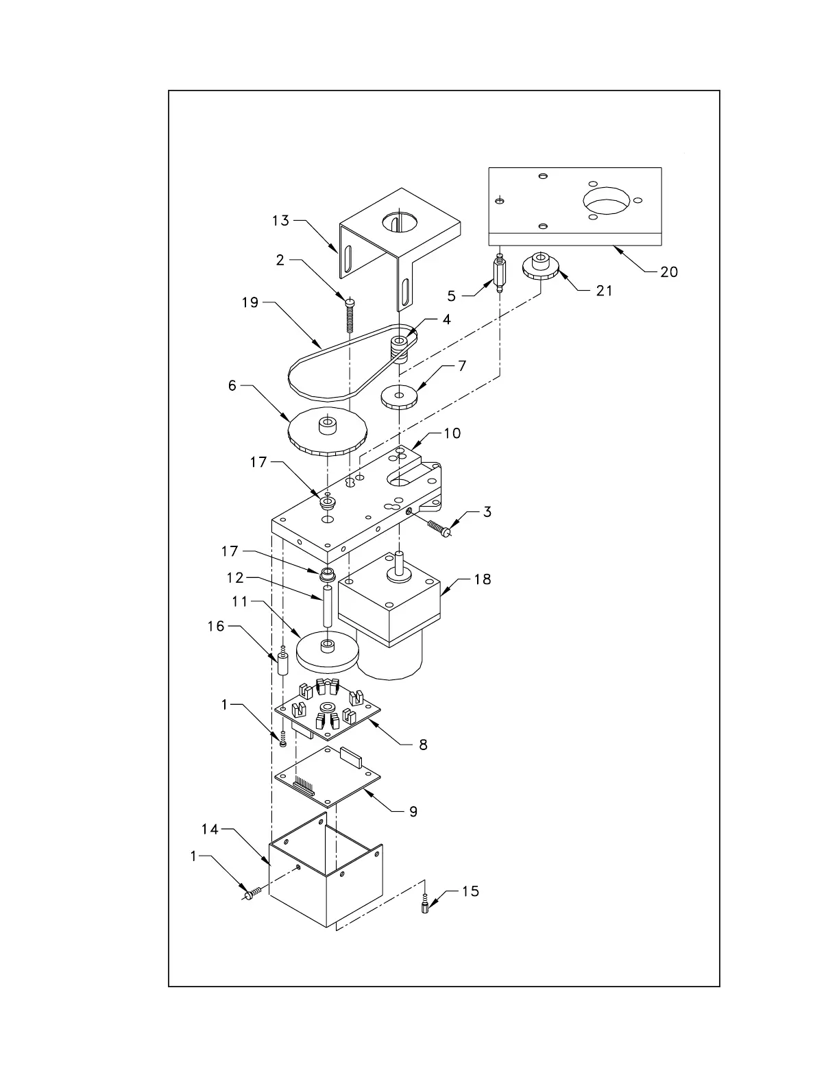
5-2 SERVICING
Telemark 376/379 Crucible Indexer
Figure 5-A
Assembly

Related product manuals