EasyManua.ls Logo

Telemark TT-6 - Page 21

Default Icon
33 pages
Print Icon
To Next Page IconTo Next Page
To Next Page IconTo Next Page
To Previous Page IconTo Previous Page
To Previous Page IconTo Previous Page
Loading...

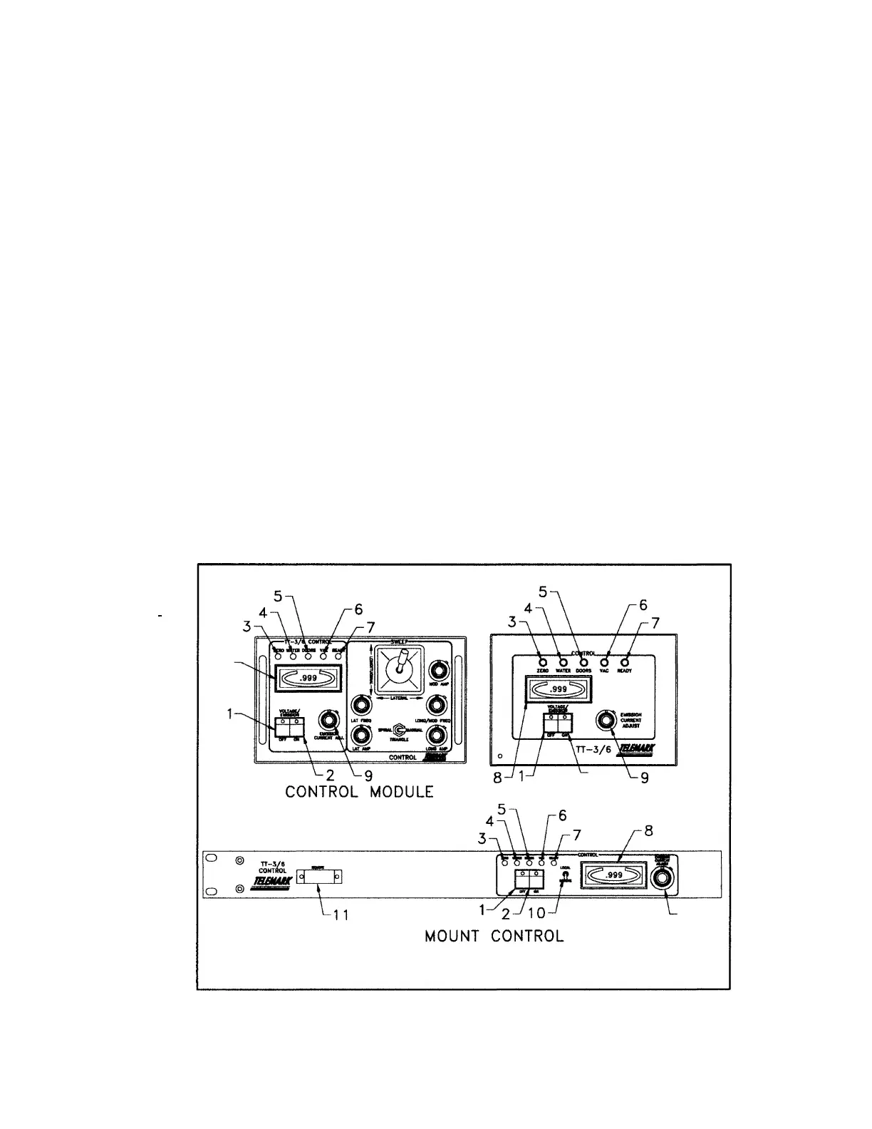
Figure 4-A



 

4
 

 
5
 

6
 a  


7
 
 

8
 
a 


9
 

10  

8
RACK



0

 
 
9
4-2 

Related product manuals