EasyManua.ls Logo

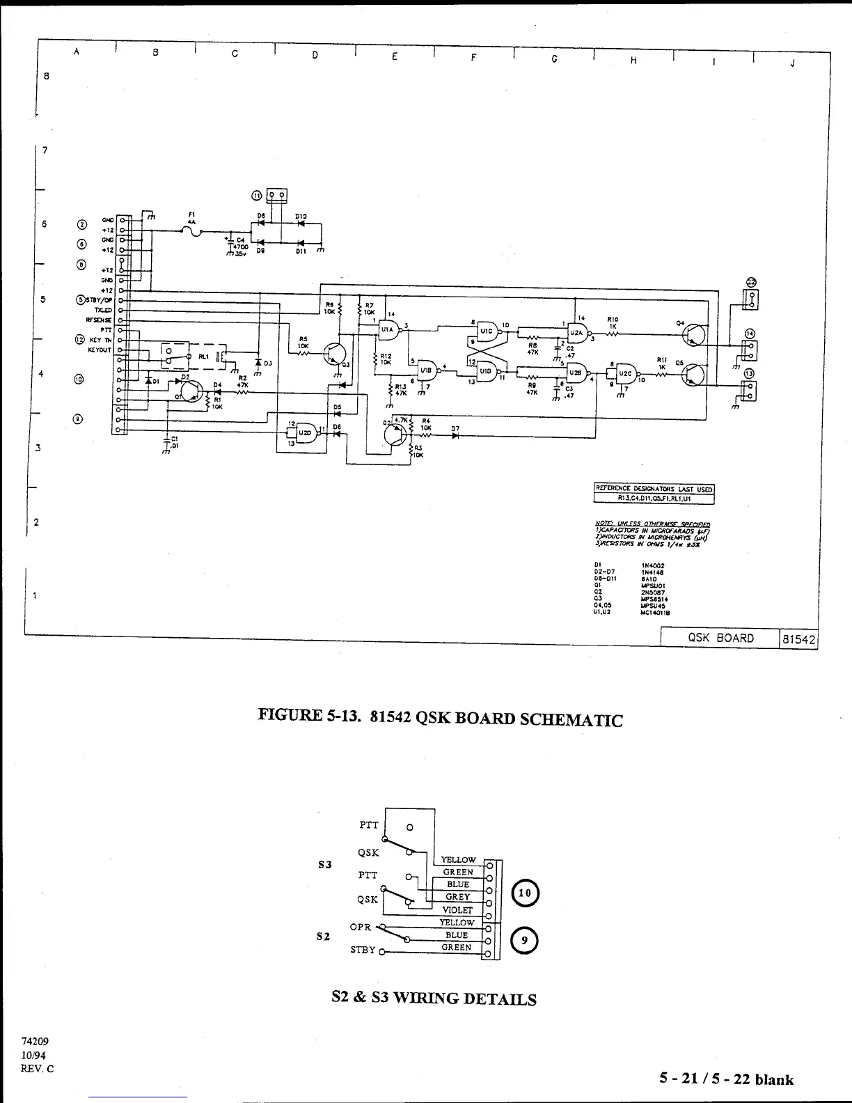
Ten-Tec Centurion 422 - 81542 QSK Board Schematic; S2 & S3 Wiring Details

Default Icon
92 pages
Print Icon
To Next Page IconTo Next Page
To Next Page IconTo Next Page
To Previous Page IconTo Previous Page
To Previous Page IconTo Previous Page
Loading...

Table of Contents

Related product manuals